uz
uz
ru
Cancel
Catalog
Issiqlik va gidroizolyatsiya materiallariga asoslangan tom yopma tizimlari
Issiqlik va gidroizolyatsiya materiallariga asoslangan tom yopma tizimlari
Sektsiyali eshiklar
Garaj eshiklari
Sanoat eshiklari
Garaj eshigi
Ko'cha eshiklari
Suriladigan ko'cha eshiklari
Ko'cha eshiklari uchun balka to'plamlari
Ochiladigan ko'cha eshiklari
Kalitlar
Havola bo'lagi
Sanoat egiladigan, suriladigan va ochiladigan eshiklari
Egiladigan va suriladigan eshiklar
Ochiladigan garaj eshiklari
Yong'in eshiklari
Sektsionli qarshilikka chidamli eshiklar, og‘irlik chegarasi EI60
Tutqun dumanli pardalar, yong‘inga chidamlilik chegarasi E60 va E120
Yog'ochdan yasalgan yong'inga qarshi eshiklar, yong'inga chidamlilik chegarasi EI60, EI90
Yong'inga qarshi o'zgartirilgan eshiklar, og'irlik sinovi EI60, EI90 bilan
Yong'inga qarshi parda, yong'in barqarorligi EI120 (suyuqlik purkash tizimi mavjud bo'lsa)
Yong‘inga chidamli pardalar, EI 60 o‘tga chidamlilik chegarasiga ega
Рaspashni garaj eshiklari mineral tola bilan to'ldirilgan VRGMV01 seriyasi panellaridan
Sovutgichli xonalar uchun eshiklar va eshiklar
Bir qanotli ochiluvchi eshik PromStandart
DoorHan RC-PP seriyasidagi sovutish kamerasining to‘plami
FDH seriyasidagi bir qanotli texnologik eshik
IDS seriyasidagi sovitiladigan xonalar uchun yotqiziladigan eshik
IDT seriyasidagi sovutish xonalariga mo‘ljallangan texnologik qopqoq
IDV seriyali sovutgichli xonalar uchun vertikal ko'taruvchi eshik
IPD seriyali sendvich panellar bilan to'ldirilgan aylanma eshik
RGS seriyali gaz muhiti nazorat qilinadigan kameralar uchun surma eshik
Sanoat ikki qanotli sving eshigi, sovutiladigan xonalar uchun, IDH2-1 seriyasi
Sovitiladigan xonalar uchun sanoat ikki eshikli eshik, IDH1-1 seriyasi
VV seriyasidagi sabzavotchilik omborlari uchun havalandırma klapanı
Техnologik eshik, ikki qanotli, FD2H seriyasi
Rulonli panjaralar va rulonli eshiklar
Aluminiy ramkada ro‘llik profilli kalitka
Ko‘cha va garaj rolvorotlari bir qatlamli ekstruziya profili RHE84M / RHE84GM dan
Oyna teshiklari uchun rulonli shkaflar (energiya tejovchi) RH41N, RH45N püskürtmali profildan yasalgan
Oynali o‘tkazgichlar uchun (o‘g‘rilikka chidamli) ekstruziya qilingan RHE45M profildan yasalgan rollar eshiklari
Perforatsiyalangan profil (qisman yorug'lik o'tkazish) RH45PN ro'lkastiruvchi eshiklar
Perforatsiyalangan RH58PN profildan yasalgan vitrinalar uchun rolletlar, pena bilan to'ldirilgan
PREMIUM ro'lovoralar oynali ochilishlar uchun (o'g'irlikka chidamli) ekstrudirovka qilingan RHE45 profilidan yasalgan
RH58N peno to‘ldirilgan profilidan yasalgan vitrinli rolikli eshiklar
RHE78G tarmoq shaklidagi ekstrudirovka qilingan profil va shaffof qo‘shimchalar bilan ro‘llik eshik
Rol'vorota iz stal'nogo profilya (vzlomoustoychivye) RHS75, RHS75P
Tashqi va garaj uchun mo‘ljallangan RH77M penali to‘ldirilgan profilidan tayyorlangan rolevartalar
Temir profil RHS52 dan yasalgan vitrina rolstavnalari (o'g'irlikka qarshi)
Vitrin ro‘lstavniyalar (yolg‘onchilikka chidamli) ekstrudirovka qilingan RHE58M profilidan
Vitrina rolikli panjaralari (buzib kirishga chidamli) bir devorli ekstruziya qilingan RHE56M / RHE56GM profildan
Po'lat profillardan yasalgan rulonli eshiklar
Po'lat profillardan yasalgan rulonli eshiklar (o'g'irlikka chidamli) RHS117, RHS117P val drive'li elektr drayver bilan
Po‘lat profillardan yasalgan rulonli darvozalar (buzilishga qarshi chidamli) RHS117/08, RHS117P/08 ichki val bilan elektr privodli
Ombor uskunalari
Yuklash uskunalari
Plenkalı pardalar va eshiklar
Tezkor rulonli esiklar
Скоростные спиральные ворота
Po‘lat eshiklar
Uy eshiklari
Eshiklar modeli "Ultra"
Texnik va yong‘inga qarshi eshiklar
Payvandlangan to'r panjaralar tizimi
Payvandlangan to‘rli panjara seksiyalari
Payvandlangan to‘rli ko‘cha darvozalari
Payvandlangan to‘rli kalitkalar
Shtaketnikli panjara seksiyalari
Shovqin himoya konstruksiyalari
Akustik panellar
Ishlab chiqarish shovqin himoya konstruksiyalari
Kirga qarshi ekranlar
Shovqin himoya talqinida bajarilgan ochiluvchi kalitka
Shumoni himoya qiluvchi bajarilishdagi eshiklar
Texnologik shovqin himoya konstruksiyalari
Alyuminiy tizimlari
DH-BS40 balkon tizimi
DH-DW64 issiqlik uzilishli deraza-va eshik tizimi
DH-F50 fasad stoykali-rigelli tizimi
DH-LP38 ichki bo‘lim devorlari
Issiqlik uzilishsiz oynali eshik tizimi DH-DW45
Sanoat falts texnologiyasiga asoslangan DH-RS tom yopish tizimlari
Zenit yoritgichi
Avtomatlashtirish DoorHan
Maishiy seksiyali eshiklar uchun drayvlar
Sanoat seksiyali eshiklari uchun drayvlar
Aylanadigan eshiklar uchun drayvlar
Sürgülü eshiklar uchun drayvlar
To'siqlar
Vandalga qarshi to'siqlar
Zanjirli to'siqlar
Aylanadigan eshiklar uchun drayvlar
Windows uchun disklar
Aksessuarlar
Bollardlar
Rollet va rolvorotlar uchun avtomatika
Boshqaruv bloklari
RS turkumidagi val ichiga o‘rnatiladigan roletli uzatmalar
SHAFT seriyasidagi naval turidagi rolletlar uchun privod
Angar darvozalari
Angar eshiklari individual loyiha bo'yicha
Prefabrik binolar
Modulli dizaynlar
Ramkali binolar
Uy to'plami EFFECT
Mineral tola
Shaxsiy uy va kvartiralar uchun issiqlik izolyatsiyasi
Fasadlar uchun issiqlik izolyatsiyasi
Yassi tomlar uchun issiqlik izolyatsiyasi
Sandvich-panellar uchun issiqlik izolyatsiyasi
Ovoz izolyatsiyasi
Profilangan varaq
Qurilish səndvich-panellari
Bazalt bog'lovchili mineral jun plitalaridan yasalgan yadrosi bo'lgan səndvich-panellari
Penopoliizoziyanurat (PIR) yadrosi bo‘lgan səndvich-panellari
Yumshoq qoplamali PIR-panellar (PIR-plita)
To‘xtash joyi pavilyonlari, soyabonlar va kichik arxitektura shakllari (KAS)
"Siti" seriyasidagi to‘xtash joyi pavilyonlari
"Region standart" seriyasidagi to‘xtash joyi pavilyonlari
Soyabonlar
Layt-bokslar
Avtomatik yuvilib ochiladigan eshiklar
Ikki panelli yuvilib ochiladigan eshiklar
Teleskopik yuvilib ochiladigan eshiklar
Antipaniya tizimi bilan yuvilib ochiladigan eshiklar
Bitta panelli yuvilib ochiladigan eshiklar
Garajlar
EFFECT GARAGE 24 YANGI
EFFECT GARAGE 36 garaji
Metall konstruksiyalarni issiq galvanizatsiyalash
Katta o'lchamdagi metall konstruktsiyalarni issiq galvanizatsiya qilish
Prokat alyuminiy va galvanizli po'latni bo'yash
Alyuminiy sovuq haddelenmiş mahsulotlar
Polimer qoplamali sovuq haddelenmiş alyuminiy
Kompaniya haqida
Kompaniya tarixi
Вакансии и кадровая политика
Blog
FAQ
Dilerni topish
Hamkorlar uchun
Bosma mahsulotlar
Hamkor bo‘lish
Ta'lim
Hujjatlar
Aloqa ma'lumotlari
Sektsiyali eshiklar
Garajlar
Rulonli panjaralar va rulonli eshiklar
Ombor uskunalari
To'siqlar
Aksessuarlar
Home
Katalog
Contacts
Kompaniya haqida
Kompaniya tarixi
Blog
FAQ
Dilerni topish
Hamkorlar uchun
Bosma mahsulotlar
Hamkor bo‘lish
Ta'lim
Hujjatlar
Aloqa ma'lumotlari
uz
uz
ru
Qo‘ng‘iroq qilish
Diler akkaunti
Katalog
×
+998(71)2052433
info@doorhan.uz
Issiqlik va gidroizolyatsiya materiallariga asoslangan tom yopma tizimlari
Sektsiyali eshiklar
Ko'cha eshiklari
Sanoat egiladigan, suriladigan va ochiladigan eshiklari
Yong'in eshiklari
Sovutgichli xonalar uchun eshiklar va eshiklar
Rulonli panjaralar va rulonli eshiklar
Po'lat profillardan yasalgan rulonli eshiklar
Ombor uskunalari
Po‘lat eshiklar
Payvandlangan to'r panjaralar tizimi
Shovqin himoya konstruksiyalari
Alyuminiy tizimlari
Avtomatlashtirish DoorHan
Rollet va rolvorotlar uchun avtomatika
Angar darvozalari
Prefabrik binolar
Mineral tola
Qurilish səndvich-panellari
To‘xtash joyi pavilyonlari, soyabonlar va kichik arxitektura shakllari (KAS)
Avtomatik yuvilib ochiladigan eshiklar
Garajlar
Metall konstruksiyalarni issiq galvanizatsiyalash
Prokat alyuminiy va galvanizli po'latni bo'yash
Issiqlik va gidroizolyatsiya materiallariga asoslangan tom yopma tizimlari
Garaj eshiklari
Aluminiy sandoch-paneli bilan ishlab chiqarilgan garaj sektsiyali eshiklari, oktagon shaklidagi val RSD02LUX
Garaj sektsiyali eshiklar, po'latdan yasalgan sandwich-panellar bilan, torsion mexanizmi RSD02 Premium
RSD01BIW cho‘ziluvchi prujinalarga ega po‘lat sendvich-panellardan tayyorlangan garaj sektsion eshigi
RSD02 burilish mexanizmiga ega po'lat sendvich panellardan yasalgan seksiyali garaj eshiklari
Sanoat eshiklari
ISD03ALU torsion mexanizmli alyuminiy sendvich-panellardan tayyorlangan sanoat seksion eshiklari
Po‘lat sendvich-panellardan tayyorlangan, torstionli mexanizmga ega sanoat sektsiyali eshiklar ISD01
Sanoat sektsion eshiklari, alyuminiy panoramali panellar bilan torsion mexanizmi ISD02
Sanoat sektsiyali eshiklar, torsion mexanizmi ISD THERMALPRO bilan po'latdan yasalgan sandvich-panellardan
Tezkor sektsion eshiklar alyuminiy sandwich-panellaridan, torsion mexanizmi bilan ISD01-PARKING
Garaj eshigi
Garaj eshigi
Suriladigan ko'cha eshiklari
Alyuminiy ramkali va SLG-A sandwich-panellari bilan to‘ldirilgan ko‘chadagi suriladigan darvozalar
Ko'cha eshiklari uchun balka to'plamlari
Darvozalar uchun universal po‘latdan yasalgan bo‘yalmagan T-shakldagi profil
X/K 138 x 144 x 6, L = 8 000 mm balka uchun rulonlar va yo‘riqchilik tizimi.
X/K 60 x 55 x 3, L = 6 000 mm balka uchun rulonlar va yo‘riqchilik tizimi
X/K 71 × 60 × 3,5, L = 6 000 mm balka uchun rulonlar va yo‘riqchilik tizimi
X/K 95 × 88 × 5, L = 6 000 mm balka uchun rulonlar va yo‘riqchilik tizimi.
Ochiladigan ko'cha eshiklari
Aluminiy ramkada sandwich-panellari bilan to‘ldirilgan ochiladigan darvozalar SWG-A
Standart o‘lchamdagi rashpash eshiklar, alyuminiy ramkada SWS sendvich-panellari bilan to‘ldirilgan
Kalitlar
Alüminiy ramkada SPD-A sandwich-panellar bilan to'ldirilgan eshik
Kalitka alyuminiy ramkada, PSD-P profil plastinkasi bilan to‘ldirilgan
Havola bo'lagi
To'siq sektsiyasi alyuminiy ramka bilan, FS-A sandvich-panellardan to'ldirilgan
Egiladigan va suriladigan eshiklar
IFG seriyasidagi pastki yo‘riqchisiz sanoat yig‘iladigan eshiklar
IFG-P seriyali pastki yo'riqnomasiz sanoat katlanadigan panoramali eshiklar
Industrial yassi eshiklar IFG-LG seriyasi pastki yo‘nalishli
ISG seriyasidagi pastki yo‘riqnomasiz sanoat suriladigan eshiklari
Pastki yo‘naltiruvchili sanoat suriladigan eshiklar, ISG-LG seriyasi
Ochiladigan garaj eshiklari
SG-SS seriyali PIR plombali panellardan yasalgan tebranish garaj eshiklari
Sektsionli qarshilikka chidamli eshiklar, og‘irlik chegarasi EI60
Tutqun dumanli pardalar, yong‘inga chidamlilik chegarasi E60 va E120
Yog'ochdan yasalgan yong'inga qarshi eshiklar, yong'inga chidamlilik chegarasi EI60, EI90
Yong'inga qarshi o'zgartirilgan eshiklar, og'irlik sinovi EI60, EI90 bilan
Yong'inga qarshi parda, yong'in barqarorligi EI120 (suyuqlik purkash tizimi mavjud bo'lsa)
Yong‘inga chidamli pardalar, EI 60 o‘tga chidamlilik chegarasiga ega
Рaspashni garaj eshiklari mineral tola bilan to'ldirilgan VRGMV01 seriyasi panellaridan
Bir qanotli ochiluvchi eshik PromStandart
DoorHan RC-PP seriyasidagi sovutish kamerasining to‘plami
FDH seriyasidagi bir qanotli texnologik eshik
IDS seriyasidagi sovitiladigan xonalar uchun yotqiziladigan eshik
IDT seriyasidagi sovutish xonalariga mo‘ljallangan texnologik qopqoq
IDV seriyali sovutgichli xonalar uchun vertikal ko'taruvchi eshik
IPD seriyali sendvich panellar bilan to'ldirilgan aylanma eshik
RGS seriyali gaz muhiti nazorat qilinadigan kameralar uchun surma eshik
Sanoat ikki qanotli sving eshigi, sovutiladigan xonalar uchun, IDH2-1 seriyasi
Sovitiladigan xonalar uchun sanoat ikki eshikli eshik, IDH1-1 seriyasi
VV seriyasidagi sabzavotchilik omborlari uchun havalandırma klapanı
Техnologik eshik, ikki qanotli, FD2H seriyasi
Aluminiy ramkada ro‘llik profilli kalitka
Ko‘cha va garaj rolvorotlari bir qatlamli ekstruziya profili RHE84M / RHE84GM dan
Oyna teshiklari uchun rulonli shkaflar (energiya tejovchi) RH41N, RH45N püskürtmali profildan yasalgan
Oynali o‘tkazgichlar uchun (o‘g‘rilikka chidamli) ekstruziya qilingan RHE45M profildan yasalgan rollar eshiklari
Perforatsiyalangan profil (qisman yorug'lik o'tkazish) RH45PN ro'lkastiruvchi eshiklar
Perforatsiyalangan RH58PN profildan yasalgan vitrinalar uchun rolletlar, pena bilan to'ldirilgan
PREMIUM ro'lovoralar oynali ochilishlar uchun (o'g'irlikka chidamli) ekstrudirovka qilingan RHE45 profilidan yasalgan
RH58N peno to‘ldirilgan profilidan yasalgan vitrinli rolikli eshiklar
RHE78G tarmoq shaklidagi ekstrudirovka qilingan profil va shaffof qo‘shimchalar bilan ro‘llik eshik
Rol'vorota iz stal'nogo profilya (vzlomoustoychivye) RHS75, RHS75P
Tashqi va garaj uchun mo‘ljallangan RH77M penali to‘ldirilgan profilidan tayyorlangan rolevartalar
Temir profil RHS52 dan yasalgan vitrina rolstavnalari (o'g'irlikka qarshi)
Vitrin ro‘lstavniyalar (yolg‘onchilikka chidamli) ekstrudirovka qilingan RHE58M profilidan
Vitrina rolikli panjaralari (buzib kirishga chidamli) bir devorli ekstruziya qilingan RHE56M / RHE56GM profildan
Po'lat profillardan yasalgan rulonli eshiklar (o'g'irlikka chidamli) RHS117, RHS117P val drive'li elektr drayver bilan
Po‘lat profillardan yasalgan rulonli darvozalar (buzilishga qarshi chidamli) RHS117/08, RHS117P/08 ichki val bilan elektr privodli
Yuklash uskunalari
4LT seriyali to'rt juft qaychi bilan ko'taruvchi stol
Avtomobil tanasiga tayanchli mobil rampa RMTS seriyasi
Bir juft qaychi bilan ko'taruvchi stol, LT seriyali
DHOUS standart seriyali yuk ko'tarish kabinasi
DLHHC seriyasidagi aylanadigan rampasi bilan konsol turidagi tenglashtirish platformasi
DS seriyasidagi chiqariladigan ramponi bilan tenglashtiruvchi platforma
DSHC seriyali yostiqli germetizator
DSHINF seriyasidagi shishiriladigan germetizator
DSHRN seriyasidagi yig'iladigan ramkali hermetizator
DSM seriyasidagi chiqariladigan rampali tenglashtirish platformasi
FEH, FET seriyali tashqi fermalar
Ikki juft qirqimli ko‘tarish stoli 2LT seriyasi
Mexanik tenglashtiruvchi platforma MODL seriyasi
Mobil rampa uch tomonlama yuklash uchun 3SRM seriyasi
Mobillik rampa, avtomobil tanasiga tayanchsiz RMFS seriyasi
MT seriyali portativ ko'prik
Platforma DSMC seriyasidagi konsolli turdagi chiqariladigan apparel bilan tenglashtirilgan
Qattiq ramkali герметizator DSHRD seriyasi
Qisqartirilgan RM seriyali mobil rampa
Tenglashtiruvchi mexanik platforma «MINIDOK» MDLM seriyasi
Tenglashtiruvchi platforma burama rampali DLHH seriyasi
Uch juft pichoqli ko‘taruvchi stoli 3LT seriyasi
Yengil seriyali DHOUSL yuk tashish tamburi
Yig'iladigan stasionar ko'prik FTF, siljiydigan ko'prik FTS
Plenkalı pardalar va eshiklar
FC seriyasidagi plenkali lenta eshiklari
Plenkali payvandlangan eshiklar SSD seriyasi
SWD seriyasidagi plastik pendel eshiklar
Tezkor rulonli esiklar
FHSD seriyali tezkor muzlatkich darvozalar
SPEEDROLL 2ST seriyasining yuqori tezlikdagi aylanma eshiklari
SPEEDROLL SDA seriyasining yuqori tezlikdagi aylanma eshiklari
SPEEDROLL SDF seriyasining tezkor rulonli eshiklari
SPEEDROLL SDO seriyasidagi tezkor rulonli eshiklar
Tezkor rulon eshiklar SPEEDROLL SDC seriyasi
Tezkor rulonli esiklar SPEEDROLL SDI seriyasi
Tezkor yig'iluvchi eshiklar SPEEDFOLD SDFS seriyasi
Скоростные спиральные ворота
HSSD seriyasining tezkor spiralli eshiklari
Uy eshiklari
"EKO" uy eshiklari
"OPTIM" uy eshiklari
"PREMIUM PLUS" uy eshiklari
"PREMIUM" uy eshiklari
Uy eshiklari "TERMO"
Eshiklar modeli "Ultra"
«ULTRA» garaj eshiklari
Texnik va yong‘inga qarshi eshiklar
Texnik bir qafasli eshiklar
Texnik ikki qanotli eshiklar
Yong'inga qarshi bitta qanotli eshiklar
Yong‘inga qarshi ikki qanotli eshiklar
Payvandlangan to‘rli panjara seksiyalari
«OPTIMA LIGHT» turkumidagi payvandlangan to‘rli panjara seksiyalari
«OPTIMA» seriyasidagi payvandlangan tarmoqdan yasalgan panjara seksiyalari
Payvandlangan to‘rli ko‘cha darvozalari
Payvandlangan to‘r bilan to‘ldirilgan po‘lat ramkali ochiluvchi darvozalar
Po‘lat romli va payvandlangan to‘r bilan to‘ldirilgan siljiydigan darvozalar
Temir ramkali, T-profilidan yasalgan va payvandlangan tarmoq bilan to'ldirilgan ochiladigan darvozalar
Payvandlangan to‘rli kalitkalar
Po‘lat ramka va payvandlangan to‘rli to‘ldirishga ega kalitka
T-profilli po‘lat romli va payvandlangan to‘r bilan to‘ldirilgan kalitka, O-shaklidagi rom
Shtaketnikli panjara seksiyalari
M-profilli piket panjarasi
Akustik panellar
Ishlab chiqarish shovqin himoya konstruksiyalari
Kirga qarshi ekranlar
Shovqin himoya talqinida bajarilgan ochiluvchi kalitka
Shumoni himoya qiluvchi bajarilishdagi eshiklar
Texnologik shovqin himoya konstruksiyalari
DH-BS40 balkon tizimi
DH-DW64 issiqlik uzilishli deraza-va eshik tizimi
DH-F50 fasad stoykali-rigelli tizimi
DH-LP38 ichki bo‘lim devorlari
Issiqlik uzilishsiz oynali eshik tizimi DH-DW45
Sanoat falts texnologiyasiga asoslangan DH-RS tom yopish tizimlari
Zenit yoritgichi
Maishiy seksiyali eshiklar uchun drayvlar
FAST-800PRO va SECTIONAL-1200PRO privodlari uy sektsiyali eshiklari uchun mo'ljallangan
SECTIONAL-1200 privodi uy maqsadli sektsion darvozalar uchun mo‘ljallangan
SECTIONAL-800PRO va SECTIONAL-1000PRO privodlari uy sektsiyali eshiklari uchun mo'ljallangan
Sanoat seksiyali eshiklari uchun drayvlar
Boshqaruv bloklari
Sanoat seksiyali eshiklari uchun SHAFT-120 va SHAFT-200 drayvlari
SHAFT-20 privodi uy va sanoat sektsiyali eshiklari uchun
SHAFT-30 IP65 va SHAFT-60 IP65 privodlari sanoat sektsiyali darvozalar uchun
SHAFT-50 va SHAFT-150 privodlari sanoat sektsiyali vorotalari uchun
SHAFT-50PRO dvigateli sanoat sektsion eshiklari uchun
Aylanadigan eshiklar uchun drayvlar
Liniyali privodlar
Ryichajli privodlar
Boshqaruv bloklari
Sürgülü eshiklar uchun drayvlar
Boshqarish birliklari
Ochiladigan darvozalar uchun drayvlar SLIDING-500PRO va SLIDING-800PRO
Sanoat yuvish eshiklari uchun drayverlar SLIDING-3000-380V va SLIDING-5000
SLIDING-1300PRO va SLIDING-2100PRO ko'chma darvozalar uchun privodlar
SLIDING-500 va SLIDING-800 g‘ildirakli darvozalar uchun privodlar
To'siqlar
Shlagbaumlar BARRIER-PRO/BARRIER-PRO-RPD
Tezlikka moslashuvchan to'siq TOLL
Vandalga qarshi to'siqlar
Antivandal BARRIER PROTECTOR PRO Shlagbaum
Zanjirli to'siqlar
CHAIN-BARRIER PRO zanjirli shlagbaum
Aylanadigan eshiklar uchun drayvlar
Avtomatik oshirilgan eshiklar uchun drive AD-SWING
Windows uchun disklar
AWIN derazalarni avtomatlashtirish uchun mo‘ljallangan uzatuvchi qurilma
Aksessuarlar
Boshqaruv qurilmalari
Xavfsizlik qurilmalari
Kirishni nazorat qilish tizimlari
Bollardlar
Bloklar
Gidravlik bollard BOLLARD-HB220
Boshqaruv bloklari
Bir roletni boshqarish uchun ROLL qabul qiluvchi qurilma
CV-mini rolikli panjurlar uchun masofadan boshqarish bloki
CV0.1 masofaviy boshqaruv bloki
GC2/GC4 guruhli masofaviy boshqaruv bloklari (rolettalar uchun)
Rolikli panjurni boshqarish bloki SmartRoll-2.0
Roll1/Roll2 roletlar uchun masofaviy boshqaruv bloklari
SmartRoll rolikli panjurni boshqarish bloki
Блок управления освещением и роллетами
RS turkumidagi val ichiga o‘rnatiladigan roletli uzatmalar
SHAFT seriyasidagi naval turidagi rolletlar uchun privod
Angar eshiklari individual loyiha bo'yicha
Qo‘llab-quvvatlovchi suriladigan darvozalar
Modulli dizaynlar
Xo‘jalik bloki EFFECT HOUSEHOLD 15
Ramkali binolar
Ikki tomli tom uchun ramkali karkasli binolar
Karxasli binolar tekis tom yopish uchun fermali turdagi
Shaxsiy loyiha bo‘yicha karkasli binolar
Uy to'plami EFFECT
EFFECT ULTRA 162 turkumidagi uy to‘plami
EFFECT ULTRA 29 turkumidagi uy to‘plami
EFFECT ULTRA 44 seriyasining uy to‘plami
EFFECT ULTRA 59 seriyasidagi uy konstruksiyasi
EFFECT ULTRA 74 seriyasidagi uy to‘plami
EFFECT ULTRA 88 seriyasidagi uy majmuasi
Shaxsiy uy va kvartiralar uchun issiqlik izolyatsiyasi
DOORHAN “UNIVERSAL” mineral tolali plata
DOORHAN «LAYT EKSTRA» mineral vata plitasi
Mineral vata plitasi DOORHAN «LAYT»
Fasadlar uchun issiqlik izolyatsiyasi
DOORHAN "VENT OPTIMA" mineral paxta plitasi
DOORHAN «FASAD OPTIMA» minerallik plitasi
DOORHAN «FASAD UNIVERSAL» mineral yun plitasi
DOORHAN «FASAD» mineral vata plitasi
DOORHAN «VENT» mineral paxta plitasi
DOORHAN minerallangan junli plita «FASAD EFFEKT»
Mineral tolali plita DOORHAN «FASAD PRO»
Yassi tomlar uchun issiqlik izolyatsiyasi
DOORHAN “ROOF” mineral jun plitasi
DOORHAN «RUF N» mineral toshdan tayyorlangan plita
DOORHAN «RUF V EXTRA» minerallik plitasi
DOORHAN «RUF V OPTIMA» minerallik plitasi
DOORHAN «RUF V» minerallik plitasi
Mineral toshdan tayyorlangan plita DOORHAN «RUF N OPTIMA»
Sandvich-panellar uchun issiqlik izolyatsiyasi
DOORHAN “SANDVIÇ S OPTIMA” minerallatli lavha
DOORHAN «SANDVICH B» minerallik plita
Mineral tolali plita DOORHAN «SANDVICH K»
Mineral tolali plita DOORHAN «SANDVICH S PROFF»
Mineral tolali plita DOORHAN «SANDVICH S STANDART»
Ovoz izolyatsiyasi
DOORHAN «FLOR OPTIMA» mineral tola plitasi
DOORHAN «FLOR» mineral tola plitasi
Minerałvat plita DOORHAN «AKUSTIK»
Profilangan varaq
N153 profilli varaq
Bazalt bog'lovchili mineral jun plitalaridan yasalgan yadrosi bo'lgan səndvich-panellari
Mineral jun izolyatsiyasi bilan qoplangan tom panellari
Mineral paxtadan yasalgan issiqlik izolyatori bilan devor sendvich panellari
Penopoliizoziyanurat (PIR) yadrosi bo‘lgan səndvich-panellari
Kroofli sandwich-panellar, PIR (penopoliizoitsiurata) izolyatori bilan
PIR (penopoliizotsianurat) yalıtqichli devor tipidagi sendvich panellar
Yumshoq qoplamali PIR-panellar (PIR-plita)
Yumshoq qoplamali PIR-panellar (PIR-plita)
"Siti" seriyasidagi to‘xtash joyi pavilyonlari
«SITI» turkumidagi «KENGAYTIRILGAN» to‘xtash paviloni
«SITI» turkumidagi «KICHIK O‘LCHAMLI JUFT» to‘xtash paviloni
«SITI» turkumidagi «KICHIK O‘LCHAMLI» to‘xtash paviloni
«SITI» turkumidagi «REKLAM TASHUVCHISIZ STANDART» to‘xtash paviloni
To‘xtash paviloni "TRAMVAY STANDARTI", "SITI" seriyasi
To‘xtash paviloni «SODDALASHTIRILGAN», «SITI» seriyasi
To‘xtash paviloni «STANDART EKKIYOQLI», «SITI» seriyasi
To‘xtash paviloni «STANDART», «SITI» seriyasi
"Region standart" seriyasidagi to‘xtash joyi pavilyonlari
To‘xtash paviloni "SHAHAR MARKAZI", "HUDUDIY STANDART" seriyasi
To‘xtash paviloni "SHAHAR STANDARTI", "HUDUDIY STANDART" seriyasi
To‘xtash paviloni "SHAHARLARARO", "HUDUDIY STANDART" seriyasi
Soyabonlar
«QURUQ OYOQLAR» soyaboni
Layt-bokslar
Axborot laytboksi
Reklama laytboksi
Ikki panelli yuvilib ochiladigan eshiklar
AD-SP drayveri uchun avtomatik suriluvchi eshik komplekti (ikki harakatlanuvchi yengil yaratmalar va yuqorida framuga)
AD-SP drayvi uchun avtomatik sürmeli eshik komplekti (ikki harakatlanuvchi light-kanot)
AD-SP dvigateli uchun avtomatik sirpanadigan eshik to'plami (ikki harakatlanuvchi, ikki harakatlanmaydigan, ikki eshik va yuqorida frangka)
AD-SP haydovchisi uchun avtomatik yuvish eshigi komplekti (ikki harakatlanuvchi, ikki harakatlanmaydigan qanot va yuqorida framuga)
AD-SP privodi uchun avtomatik sirpanma eshik komplekti (ikki harakatlanuvchi, ikki harakatlanmaydigan, birta ochiluvchi yaratma va ustki framuqa)
AD-SP privozi uchun avtomatik suriladigan eshik komplekti (ikki harakatlanuvchi va ikki harakatlanmaydigan light-shtor)
AD-SP привод uchun avtomatik yuvilib ochiladigan eshik komplekti (ikki harakatlanuvchi butun shishadan yasalgan panellar)
Teleskopik yuvilib ochiladigan eshiklar
AD-SP-TELESCOPE drayveri uchun teleskopik sürgülü eshik komplekti (to‘rt harakatlanuvchi va ikki harakatsiz yoritilgan qafaslar va framuga)
AD-SP-TELESCOPE privodi uchun mo‘ljallangan teleskopik suriluvchi eshik komplekti (ikki harakatlanuvchi yengil (light) stworka bilan)
AD-SP-Telescope privodi uchun teleskopik suriladigan eshik to‘plami (to‘rtta harakatlanuvchi yengil yaproq bilan)
AD-SP-TELESCOPE privodi uchun teleskopik surma eshik komplekti (to‘rtta harakatlanuvchi yengil qanot va framuza)
Teleskopik surish eshigi komplekti (ikki harakatlanuvchi va bitta harakatsiz yengil yaratish va fraumuga) AD-SP-TELESCOPE dvigateli uchun
Teleskopik surtma eshik to‘plami (ikki harakatlanuvchi yengil yaproq va framuga) AD-SP-TELESCOPE privodi uchun
Antipaniya tizimi bilan yuvilib ochiladigan eshiklar
AD-SP privodi uchun "antipanika" tizimidagi avtomatik surilma eshik komplekti (bitta harakatlanuvchi "antipanika" eshik qanoti)
AD-SP privodi uchun avtomatik suriluvchi eshik komplekti (ikki harakatlanuvchi va ikki qotirilgan "antipanika" eshik qanotlari bilan)
AD-SP privodi uchun mo‘ljallangan avtomatik sirpanib ochiladigan eshik komplekti (bitta harakatlanuvchi va bitta harakatsiz «antipanika» kanot)
Antipanika avtomatik suriladigan eshik to‘plami (ikki harakatlanuvchi "antipanika" kanopi) AD-SP uzatgichi uchun
Bitta panelli yuvilib ochiladigan eshiklar
AD-SP drayveri uchun avtomatik suriladigan eshik to‘plami (bitta harakatlanuvchi, bitta harakatsiz qopqoq va yuqoridan framuga)
AD-SP privodi uchun avtomatik suriladigan eshik komplekti (bitta harakatlanuvchi yengil qanot va yuqoridagi framuga)
AD-SP privodi uchun avtomatik suriluvchi eshik komplekti (bitta harakatlanuvchi, bitta harakatlanmaydigan, bitta eshik qanoti va yuqoridagi framuqa)
AD-SP privodi uchun avtomatik surma eshik komplekti (bitta harakatlanuvchi va bitta harakatsiz lightramka)
Avtomatik sizli eshik komplekti (bitta harakatlanuvchi yengil qism) AD-SP drayvi uchun
EFFECT GARAGE 24 YANGI
EFFECT GARAGE 36 garaji
Katta o'lchamdagi metall konstruktsiyalarni issiq galvanizatsiya qilish
Alyuminiy sovuq haddelenmiş mahsulotlar
Polimer qoplamali sovuq haddelenmiş alyuminiy
Catalog
Issiqlik va gidroizolyatsiya materiallariga asoslangan tom yopma tizimlari
Issiqlik va gidroizolyatsiya materiallariga asoslangan tom yopma tizimlari
Sektsiyali eshiklar
Garaj eshiklari
Aluminiy sandoch-paneli bilan ishlab chiqarilgan garaj sektsiyali eshiklari, oktagon shaklidagi val RSD02LUX
Garaj sektsiyali eshiklar, po'latdan yasalgan sandwich-panellar bilan, torsion mexanizmi RSD02 Premium
RSD01BIW cho‘ziluvchi prujinalarga ega po‘lat sendvich-panellardan tayyorlangan garaj sektsion eshigi
RSD02 burilish mexanizmiga ega po'lat sendvich panellardan yasalgan seksiyali garaj eshiklari
Sanoat eshiklari
ISD03ALU torsion mexanizmli alyuminiy sendvich-panellardan tayyorlangan sanoat seksion eshiklari
Po‘lat sendvich-panellardan tayyorlangan, torstionli mexanizmga ega sanoat sektsiyali eshiklar ISD01
Sanoat sektsion eshiklari, alyuminiy panoramali panellar bilan torsion mexanizmi ISD02
Sanoat sektsiyali eshiklar, torsion mexanizmi ISD THERMALPRO bilan po'latdan yasalgan sandvich-panellardan
Tezkor sektsion eshiklar alyuminiy sandwich-panellaridan, torsion mexanizmi bilan ISD01-PARKING
Garaj eshigi
Garaj eshigi
Ko'cha eshiklari
Suriladigan ko'cha eshiklari
Alyuminiy ramkali va SLG-A sandwich-panellari bilan to‘ldirilgan ko‘chadagi suriladigan darvozalar
Ko'cha eshiklari uchun balka to'plamlari
Darvozalar uchun universal po‘latdan yasalgan bo‘yalmagan T-shakldagi profil
X/K 138 x 144 x 6, L = 8 000 mm balka uchun rulonlar va yo‘riqchilik tizimi.
X/K 60 x 55 x 3, L = 6 000 mm balka uchun rulonlar va yo‘riqchilik tizimi
X/K 71 × 60 × 3,5, L = 6 000 mm balka uchun rulonlar va yo‘riqchilik tizimi
X/K 95 × 88 × 5, L = 6 000 mm balka uchun rulonlar va yo‘riqchilik tizimi.
Ochiladigan ko'cha eshiklari
Aluminiy ramkada sandwich-panellari bilan to‘ldirilgan ochiladigan darvozalar SWG-A
Standart o‘lchamdagi rashpash eshiklar, alyuminiy ramkada SWS sendvich-panellari bilan to‘ldirilgan
Kalitlar
Alüminiy ramkada SPD-A sandwich-panellar bilan to'ldirilgan eshik
Kalitka alyuminiy ramkada, PSD-P profil plastinkasi bilan to‘ldirilgan
Havola bo'lagi
To'siq sektsiyasi alyuminiy ramka bilan, FS-A sandvich-panellardan to'ldirilgan
Sanoat egiladigan, suriladigan va ochiladigan eshiklari
Egiladigan va suriladigan eshiklar
IFG seriyasidagi pastki yo‘riqchisiz sanoat yig‘iladigan eshiklar
IFG-P seriyali pastki yo'riqnomasiz sanoat katlanadigan panoramali eshiklar
Industrial yassi eshiklar IFG-LG seriyasi pastki yo‘nalishli
ISG seriyasidagi pastki yo‘riqnomasiz sanoat suriladigan eshiklari
Pastki yo‘naltiruvchili sanoat suriladigan eshiklar, ISG-LG seriyasi
Ochiladigan garaj eshiklari
SG-SS seriyali PIR plombali panellardan yasalgan tebranish garaj eshiklari
Yong'in eshiklari
Sektsionli qarshilikka chidamli eshiklar, og‘irlik chegarasi EI60
Tutqun dumanli pardalar, yong‘inga chidamlilik chegarasi E60 va E120
Yog'ochdan yasalgan yong'inga qarshi eshiklar, yong'inga chidamlilik chegarasi EI60, EI90
Yong'inga qarshi o'zgartirilgan eshiklar, og'irlik sinovi EI60, EI90 bilan
Yong'inga qarshi parda, yong'in barqarorligi EI120 (suyuqlik purkash tizimi mavjud bo'lsa)
Yong‘inga chidamli pardalar, EI 60 o‘tga chidamlilik chegarasiga ega
Рaspashni garaj eshiklari mineral tola bilan to'ldirilgan VRGMV01 seriyasi panellaridan
Sovutgichli xonalar uchun eshiklar va eshiklar
Bir qanotli ochiluvchi eshik PromStandart
DoorHan RC-PP seriyasidagi sovutish kamerasining to‘plami
FDH seriyasidagi bir qanotli texnologik eshik
IDS seriyasidagi sovitiladigan xonalar uchun yotqiziladigan eshik
IDT seriyasidagi sovutish xonalariga mo‘ljallangan texnologik qopqoq
IDV seriyali sovutgichli xonalar uchun vertikal ko'taruvchi eshik
IPD seriyali sendvich panellar bilan to'ldirilgan aylanma eshik
RGS seriyali gaz muhiti nazorat qilinadigan kameralar uchun surma eshik
Sanoat ikki qanotli sving eshigi, sovutiladigan xonalar uchun, IDH2-1 seriyasi
Sovitiladigan xonalar uchun sanoat ikki eshikli eshik, IDH1-1 seriyasi
VV seriyasidagi sabzavotchilik omborlari uchun havalandırma klapanı
Техnologik eshik, ikki qanotli, FD2H seriyasi
Rulonli panjaralar va rulonli eshiklar
Aluminiy ramkada ro‘llik profilli kalitka
Ko‘cha va garaj rolvorotlari bir qatlamli ekstruziya profili RHE84M / RHE84GM dan
Oyna teshiklari uchun rulonli shkaflar (energiya tejovchi) RH41N, RH45N püskürtmali profildan yasalgan
Oynali o‘tkazgichlar uchun (o‘g‘rilikka chidamli) ekstruziya qilingan RHE45M profildan yasalgan rollar eshiklari
Perforatsiyalangan profil (qisman yorug'lik o'tkazish) RH45PN ro'lkastiruvchi eshiklar
Perforatsiyalangan RH58PN profildan yasalgan vitrinalar uchun rolletlar, pena bilan to'ldirilgan
PREMIUM ro'lovoralar oynali ochilishlar uchun (o'g'irlikka chidamli) ekstrudirovka qilingan RHE45 profilidan yasalgan
RH58N peno to‘ldirilgan profilidan yasalgan vitrinli rolikli eshiklar
RHE78G tarmoq shaklidagi ekstrudirovka qilingan profil va shaffof qo‘shimchalar bilan ro‘llik eshik
Rol'vorota iz stal'nogo profilya (vzlomoustoychivye) RHS75, RHS75P
Tashqi va garaj uchun mo‘ljallangan RH77M penali to‘ldirilgan profilidan tayyorlangan rolevartalar
Temir profil RHS52 dan yasalgan vitrina rolstavnalari (o'g'irlikka qarshi)
Vitrin ro‘lstavniyalar (yolg‘onchilikka chidamli) ekstrudirovka qilingan RHE58M profilidan
Vitrina rolikli panjaralari (buzib kirishga chidamli) bir devorli ekstruziya qilingan RHE56M / RHE56GM profildan
Po'lat profillardan yasalgan rulonli eshiklar
Po'lat profillardan yasalgan rulonli eshiklar (o'g'irlikka chidamli) RHS117, RHS117P val drive'li elektr drayver bilan
Po‘lat profillardan yasalgan rulonli darvozalar (buzilishga qarshi chidamli) RHS117/08, RHS117P/08 ichki val bilan elektr privodli
Ombor uskunalari
Yuklash uskunalari
4LT seriyali to'rt juft qaychi bilan ko'taruvchi stol
Avtomobil tanasiga tayanchli mobil rampa RMTS seriyasi
Bir juft qaychi bilan ko'taruvchi stol, LT seriyali
DHOUS standart seriyali yuk ko'tarish kabinasi
DLHHC seriyasidagi aylanadigan rampasi bilan konsol turidagi tenglashtirish platformasi
DS seriyasidagi chiqariladigan ramponi bilan tenglashtiruvchi platforma
DSHC seriyali yostiqli germetizator
DSHINF seriyasidagi shishiriladigan germetizator
DSHRN seriyasidagi yig'iladigan ramkali hermetizator
DSM seriyasidagi chiqariladigan rampali tenglashtirish platformasi
FEH, FET seriyali tashqi fermalar
Ikki juft qirqimli ko‘tarish stoli 2LT seriyasi
Mexanik tenglashtiruvchi platforma MODL seriyasi
Mobil rampa uch tomonlama yuklash uchun 3SRM seriyasi
Mobillik rampa, avtomobil tanasiga tayanchsiz RMFS seriyasi
MT seriyali portativ ko'prik
Platforma DSMC seriyasidagi konsolli turdagi chiqariladigan apparel bilan tenglashtirilgan
Qattiq ramkali герметizator DSHRD seriyasi
Qisqartirilgan RM seriyali mobil rampa
Tenglashtiruvchi mexanik platforma «MINIDOK» MDLM seriyasi
Tenglashtiruvchi platforma burama rampali DLHH seriyasi
Uch juft pichoqli ko‘taruvchi stoli 3LT seriyasi
Yengil seriyali DHOUSL yuk tashish tamburi
Yig'iladigan stasionar ko'prik FTF, siljiydigan ko'prik FTS
Plenkalı pardalar va eshiklar
FC seriyasidagi plenkali lenta eshiklari
Plenkali payvandlangan eshiklar SSD seriyasi
SWD seriyasidagi plastik pendel eshiklar
Tezkor rulonli esiklar
FHSD seriyali tezkor muzlatkich darvozalar
SPEEDROLL 2ST seriyasining yuqori tezlikdagi aylanma eshiklari
SPEEDROLL SDA seriyasining yuqori tezlikdagi aylanma eshiklari
SPEEDROLL SDF seriyasining tezkor rulonli eshiklari
SPEEDROLL SDO seriyasidagi tezkor rulonli eshiklar
Tezkor rulon eshiklar SPEEDROLL SDC seriyasi
Tezkor rulonli esiklar SPEEDROLL SDI seriyasi
Tezkor yig'iluvchi eshiklar SPEEDFOLD SDFS seriyasi
Скоростные спиральные ворота
HSSD seriyasining tezkor spiralli eshiklari
Po‘lat eshiklar
Uy eshiklari
"EKO" uy eshiklari
"OPTIM" uy eshiklari
"PREMIUM PLUS" uy eshiklari
"PREMIUM" uy eshiklari
Uy eshiklari "TERMO"
Eshiklar modeli "Ultra"
«ULTRA» garaj eshiklari
Texnik va yong‘inga qarshi eshiklar
Texnik bir qafasli eshiklar
Texnik ikki qanotli eshiklar
Yong'inga qarshi bitta qanotli eshiklar
Yong‘inga qarshi ikki qanotli eshiklar
Payvandlangan to'r panjaralar tizimi
Payvandlangan to‘rli panjara seksiyalari
«OPTIMA LIGHT» turkumidagi payvandlangan to‘rli panjara seksiyalari
«OPTIMA» seriyasidagi payvandlangan tarmoqdan yasalgan panjara seksiyalari
Payvandlangan to‘rli ko‘cha darvozalari
Payvandlangan to‘r bilan to‘ldirilgan po‘lat ramkali ochiluvchi darvozalar
Po‘lat romli va payvandlangan to‘r bilan to‘ldirilgan siljiydigan darvozalar
Temir ramkali, T-profilidan yasalgan va payvandlangan tarmoq bilan to'ldirilgan ochiladigan darvozalar
Payvandlangan to‘rli kalitkalar
Po‘lat ramka va payvandlangan to‘rli to‘ldirishga ega kalitka
T-profilli po‘lat romli va payvandlangan to‘r bilan to‘ldirilgan kalitka, O-shaklidagi rom
Shtaketnikli panjara seksiyalari
M-profilli piket panjarasi
Shovqin himoya konstruksiyalari
Akustik panellar
Ishlab chiqarish shovqin himoya konstruksiyalari
Kirga qarshi ekranlar
Shovqin himoya talqinida bajarilgan ochiluvchi kalitka
Shumoni himoya qiluvchi bajarilishdagi eshiklar
Texnologik shovqin himoya konstruksiyalari
Alyuminiy tizimlari
DH-BS40 balkon tizimi
DH-DW64 issiqlik uzilishli deraza-va eshik tizimi
DH-F50 fasad stoykali-rigelli tizimi
DH-LP38 ichki bo‘lim devorlari
Issiqlik uzilishsiz oynali eshik tizimi DH-DW45
Sanoat falts texnologiyasiga asoslangan DH-RS tom yopish tizimlari
Zenit yoritgichi
Avtomatlashtirish DoorHan
Maishiy seksiyali eshiklar uchun drayvlar
FAST-800PRO va SECTIONAL-1200PRO privodlari uy sektsiyali eshiklari uchun mo'ljallangan
SECTIONAL-1200 privodi uy maqsadli sektsion darvozalar uchun mo‘ljallangan
SECTIONAL-800PRO va SECTIONAL-1000PRO privodlari uy sektsiyali eshiklari uchun mo'ljallangan
Sanoat seksiyali eshiklari uchun drayvlar
Boshqaruv bloklari
Sanoat seksiyali eshiklari uchun SHAFT-120 va SHAFT-200 drayvlari
SHAFT-20 privodi uy va sanoat sektsiyali eshiklari uchun
SHAFT-30 IP65 va SHAFT-60 IP65 privodlari sanoat sektsiyali darvozalar uchun
SHAFT-50 va SHAFT-150 privodlari sanoat sektsiyali vorotalari uchun
SHAFT-50PRO dvigateli sanoat sektsion eshiklari uchun
Aylanadigan eshiklar uchun drayvlar
Liniyali privodlar
Ryichajli privodlar
Boshqaruv bloklari
Sürgülü eshiklar uchun drayvlar
Boshqarish birliklari
Ochiladigan darvozalar uchun drayvlar SLIDING-500PRO va SLIDING-800PRO
Sanoat yuvish eshiklari uchun drayverlar SLIDING-3000-380V va SLIDING-5000
SLIDING-1300PRO va SLIDING-2100PRO ko'chma darvozalar uchun privodlar
SLIDING-500 va SLIDING-800 g‘ildirakli darvozalar uchun privodlar
To'siqlar
Shlagbaumlar BARRIER-PRO/BARRIER-PRO-RPD
Tezlikka moslashuvchan to'siq TOLL
Vandalga qarshi to'siqlar
Antivandal BARRIER PROTECTOR PRO Shlagbaum
Zanjirli to'siqlar
CHAIN-BARRIER PRO zanjirli shlagbaum
Aylanadigan eshiklar uchun drayvlar
Avtomatik oshirilgan eshiklar uchun drive AD-SWING
Windows uchun disklar
AWIN derazalarni avtomatlashtirish uchun mo‘ljallangan uzatuvchi qurilma
Aksessuarlar
Boshqaruv qurilmalari
Xavfsizlik qurilmalari
Kirishni nazorat qilish tizimlari
Bollardlar
Bloklar
Gidravlik bollard BOLLARD-HB220
Rollet va rolvorotlar uchun avtomatika
Boshqaruv bloklari
Bir roletni boshqarish uchun ROLL qabul qiluvchi qurilma
CV-mini rolikli panjurlar uchun masofadan boshqarish bloki
CV0.1 masofaviy boshqaruv bloki
GC2/GC4 guruhli masofaviy boshqaruv bloklari (rolettalar uchun)
Rolikli panjurni boshqarish bloki SmartRoll-2.0
Roll1/Roll2 roletlar uchun masofaviy boshqaruv bloklari
SmartRoll rolikli panjurni boshqarish bloki
Блок управления освещением и роллетами
RS turkumidagi val ichiga o‘rnatiladigan roletli uzatmalar
SHAFT seriyasidagi naval turidagi rolletlar uchun privod
Angar darvozalari
Angar eshiklari individual loyiha bo'yicha
Qo‘llab-quvvatlovchi suriladigan darvozalar
Prefabrik binolar
Modulli dizaynlar
Xo‘jalik bloki EFFECT HOUSEHOLD 15
Ramkali binolar
Ikki tomli tom uchun ramkali karkasli binolar
Karxasli binolar tekis tom yopish uchun fermali turdagi
Shaxsiy loyiha bo‘yicha karkasli binolar
Uy to'plami EFFECT
EFFECT ULTRA 162 turkumidagi uy to‘plami
EFFECT ULTRA 29 turkumidagi uy to‘plami
EFFECT ULTRA 44 seriyasining uy to‘plami
EFFECT ULTRA 59 seriyasidagi uy konstruksiyasi
EFFECT ULTRA 74 seriyasidagi uy to‘plami
EFFECT ULTRA 88 seriyasidagi uy majmuasi
Mineral tola
Shaxsiy uy va kvartiralar uchun issiqlik izolyatsiyasi
DOORHAN “UNIVERSAL” mineral tolali plata
DOORHAN «LAYT EKSTRA» mineral vata plitasi
Mineral vata plitasi DOORHAN «LAYT»
Fasadlar uchun issiqlik izolyatsiyasi
DOORHAN "VENT OPTIMA" mineral paxta plitasi
DOORHAN «FASAD OPTIMA» minerallik plitasi
DOORHAN «FASAD UNIVERSAL» mineral yun plitasi
DOORHAN «FASAD» mineral vata plitasi
DOORHAN «VENT» mineral paxta plitasi
DOORHAN minerallangan junli plita «FASAD EFFEKT»
Mineral tolali plita DOORHAN «FASAD PRO»
Yassi tomlar uchun issiqlik izolyatsiyasi
DOORHAN “ROOF” mineral jun plitasi
DOORHAN «RUF N» mineral toshdan tayyorlangan plita
DOORHAN «RUF V EXTRA» minerallik plitasi
DOORHAN «RUF V OPTIMA» minerallik plitasi
DOORHAN «RUF V» minerallik plitasi
Mineral toshdan tayyorlangan plita DOORHAN «RUF N OPTIMA»
Sandvich-panellar uchun issiqlik izolyatsiyasi
DOORHAN “SANDVIÇ S OPTIMA” minerallatli lavha
DOORHAN «SANDVICH B» minerallik plita
Mineral tolali plita DOORHAN «SANDVICH K»
Mineral tolali plita DOORHAN «SANDVICH S PROFF»
Mineral tolali plita DOORHAN «SANDVICH S STANDART»
Ovoz izolyatsiyasi
DOORHAN «FLOR OPTIMA» mineral tola plitasi
DOORHAN «FLOR» mineral tola plitasi
Minerałvat plita DOORHAN «AKUSTIK»
Profilangan varaq
N153 profilli varaq
Qurilish səndvich-panellari
Bazalt bog'lovchili mineral jun plitalaridan yasalgan yadrosi bo'lgan səndvich-panellari
Mineral jun izolyatsiyasi bilan qoplangan tom panellari
Mineral paxtadan yasalgan issiqlik izolyatori bilan devor sendvich panellari
Penopoliizoziyanurat (PIR) yadrosi bo‘lgan səndvich-panellari
Kroofli sandwich-panellar, PIR (penopoliizoitsiurata) izolyatori bilan
PIR (penopoliizotsianurat) yalıtqichli devor tipidagi sendvich panellar
Yumshoq qoplamali PIR-panellar (PIR-plita)
Yumshoq qoplamali PIR-panellar (PIR-plita)
To‘xtash joyi pavilyonlari, soyabonlar va kichik arxitektura shakllari (KAS)
"Siti" seriyasidagi to‘xtash joyi pavilyonlari
«SITI» turkumidagi «KENGAYTIRILGAN» to‘xtash paviloni
«SITI» turkumidagi «KICHIK O‘LCHAMLI JUFT» to‘xtash paviloni
«SITI» turkumidagi «KICHIK O‘LCHAMLI» to‘xtash paviloni
«SITI» turkumidagi «REKLAM TASHUVCHISIZ STANDART» to‘xtash paviloni
To‘xtash paviloni "TRAMVAY STANDARTI", "SITI" seriyasi
To‘xtash paviloni «SODDALASHTIRILGAN», «SITI» seriyasi
To‘xtash paviloni «STANDART EKKIYOQLI», «SITI» seriyasi
To‘xtash paviloni «STANDART», «SITI» seriyasi
"Region standart" seriyasidagi to‘xtash joyi pavilyonlari
To‘xtash paviloni "SHAHAR MARKAZI", "HUDUDIY STANDART" seriyasi
To‘xtash paviloni "SHAHAR STANDARTI", "HUDUDIY STANDART" seriyasi
To‘xtash paviloni "SHAHARLARARO", "HUDUDIY STANDART" seriyasi
Soyabonlar
«QURUQ OYOQLAR» soyaboni
Layt-bokslar
Axborot laytboksi
Reklama laytboksi
Avtomatik yuvilib ochiladigan eshiklar
Ikki panelli yuvilib ochiladigan eshiklar
AD-SP drayveri uchun avtomatik suriluvchi eshik komplekti (ikki harakatlanuvchi yengil yaratmalar va yuqorida framuga)
AD-SP drayvi uchun avtomatik sürmeli eshik komplekti (ikki harakatlanuvchi light-kanot)
AD-SP dvigateli uchun avtomatik sirpanadigan eshik to'plami (ikki harakatlanuvchi, ikki harakatlanmaydigan, ikki eshik va yuqorida frangka)
AD-SP haydovchisi uchun avtomatik yuvish eshigi komplekti (ikki harakatlanuvchi, ikki harakatlanmaydigan qanot va yuqorida framuga)
AD-SP privodi uchun avtomatik sirpanma eshik komplekti (ikki harakatlanuvchi, ikki harakatlanmaydigan, birta ochiluvchi yaratma va ustki framuqa)
AD-SP privozi uchun avtomatik suriladigan eshik komplekti (ikki harakatlanuvchi va ikki harakatlanmaydigan light-shtor)
AD-SP привод uchun avtomatik yuvilib ochiladigan eshik komplekti (ikki harakatlanuvchi butun shishadan yasalgan panellar)
Teleskopik yuvilib ochiladigan eshiklar
AD-SP-TELESCOPE drayveri uchun teleskopik sürgülü eshik komplekti (to‘rt harakatlanuvchi va ikki harakatsiz yoritilgan qafaslar va framuga)
AD-SP-TELESCOPE privodi uchun mo‘ljallangan teleskopik suriluvchi eshik komplekti (ikki harakatlanuvchi yengil (light) stworka bilan)
AD-SP-Telescope privodi uchun teleskopik suriladigan eshik to‘plami (to‘rtta harakatlanuvchi yengil yaproq bilan)
AD-SP-TELESCOPE privodi uchun teleskopik surma eshik komplekti (to‘rtta harakatlanuvchi yengil qanot va framuza)
Teleskopik surish eshigi komplekti (ikki harakatlanuvchi va bitta harakatsiz yengil yaratish va fraumuga) AD-SP-TELESCOPE dvigateli uchun
Teleskopik surtma eshik to‘plami (ikki harakatlanuvchi yengil yaproq va framuga) AD-SP-TELESCOPE privodi uchun
Antipaniya tizimi bilan yuvilib ochiladigan eshiklar
AD-SP privodi uchun "antipanika" tizimidagi avtomatik surilma eshik komplekti (bitta harakatlanuvchi "antipanika" eshik qanoti)
AD-SP privodi uchun avtomatik suriluvchi eshik komplekti (ikki harakatlanuvchi va ikki qotirilgan "antipanika" eshik qanotlari bilan)
AD-SP privodi uchun mo‘ljallangan avtomatik sirpanib ochiladigan eshik komplekti (bitta harakatlanuvchi va bitta harakatsiz «antipanika» kanot)
Antipanika avtomatik suriladigan eshik to‘plami (ikki harakatlanuvchi "antipanika" kanopi) AD-SP uzatgichi uchun
Bitta panelli yuvilib ochiladigan eshiklar
AD-SP drayveri uchun avtomatik suriladigan eshik to‘plami (bitta harakatlanuvchi, bitta harakatsiz qopqoq va yuqoridan framuga)
AD-SP privodi uchun avtomatik suriladigan eshik komplekti (bitta harakatlanuvchi yengil qanot va yuqoridagi framuga)
AD-SP privodi uchun avtomatik suriluvchi eshik komplekti (bitta harakatlanuvchi, bitta harakatlanmaydigan, bitta eshik qanoti va yuqoridagi framuqa)
AD-SP privodi uchun avtomatik surma eshik komplekti (bitta harakatlanuvchi va bitta harakatsiz lightramka)
Avtomatik sizli eshik komplekti (bitta harakatlanuvchi yengil qism) AD-SP drayvi uchun
Garajlar
EFFECT GARAGE 24 YANGI
EFFECT GARAGE 36 garaji
Metall konstruksiyalarni issiq galvanizatsiyalash
Katta o'lchamdagi metall konstruktsiyalarni issiq galvanizatsiya qilish
Prokat alyuminiy va galvanizli po'latni bo'yash
Alyuminiy sovuq haddelenmiş mahsulotlar
Polimer qoplamali sovuq haddelenmiş alyuminiy
Sektsiyali eshiklar
Garajlar
Rulonli panjaralar va rulonli eshiklar
Ombor uskunalari
To'siqlar
Aksessuarlar
DoorHan
DoorHan Uzbekistan – Darvozalar, eshiklar, avtomatika va qurilish materiallari katalogi
Katalog
Alyuminiy tizimlari
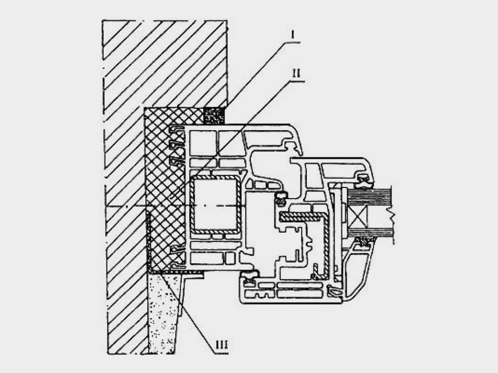
DH-DW64 issiqlik uzilishli deraza-va eshik tizimi
DH-DW64 issiqlik uzilishli deraza-va eshik tizimi
Issiqlik va gidroizolyatsiya materiallariga asoslangan tom yopma tizimlari
Issiqlik va gidroizolyatsiya materiallariga asoslangan tom yopma tizimlari
Sektsiyali eshiklar
Garaj eshiklari
Sanoat eshiklari
Garaj eshigi
Ko'cha eshiklari
Suriladigan ko'cha eshiklari
Ko'cha eshiklari uchun balka to'plamlari
Ochiladigan ko'cha eshiklari
Kalitlar
Havola bo'lagi
Sanoat egiladigan, suriladigan va ochiladigan eshiklari
Egiladigan va suriladigan eshiklar
Ochiladigan garaj eshiklari
Yong'in eshiklari
Sektsionli qarshilikka chidamli eshiklar, og‘irlik chegarasi EI60
Tutqun dumanli pardalar, yong‘inga chidamlilik chegarasi E60 va E120
Yog'ochdan yasalgan yong'inga qarshi eshiklar, yong'inga chidamlilik chegarasi EI60, EI90
Yong'inga qarshi o'zgartirilgan eshiklar, og'irlik sinovi EI60, EI90 bilan
Yong'inga qarshi parda, yong'in barqarorligi EI120 (suyuqlik purkash tizimi mavjud bo'lsa)
Yong‘inga chidamli pardalar, EI 60 o‘tga chidamlilik chegarasiga ega
Рaspashni garaj eshiklari mineral tola bilan to'ldirilgan VRGMV01 seriyasi panellaridan
Sovutgichli xonalar uchun eshiklar va eshiklar
Bir qanotli ochiluvchi eshik PromStandart
DoorHan RC-PP seriyasidagi sovutish kamerasining to‘plami
FDH seriyasidagi bir qanotli texnologik eshik
IDS seriyasidagi sovitiladigan xonalar uchun yotqiziladigan eshik
IDT seriyasidagi sovutish xonalariga mo‘ljallangan texnologik qopqoq
IDV seriyali sovutgichli xonalar uchun vertikal ko'taruvchi eshik
IPD seriyali sendvich panellar bilan to'ldirilgan aylanma eshik
RGS seriyali gaz muhiti nazorat qilinadigan kameralar uchun surma eshik
Sanoat ikki qanotli sving eshigi, sovutiladigan xonalar uchun, IDH2-1 seriyasi
Sovitiladigan xonalar uchun sanoat ikki eshikli eshik, IDH1-1 seriyasi
VV seriyasidagi sabzavotchilik omborlari uchun havalandırma klapanı
Техnologik eshik, ikki qanotli, FD2H seriyasi
Rulonli panjaralar va rulonli eshiklar
Aluminiy ramkada ro‘llik profilli kalitka
Ko‘cha va garaj rolvorotlari bir qatlamli ekstruziya profili RHE84M / RHE84GM dan
Oyna teshiklari uchun rulonli shkaflar (energiya tejovchi) RH41N, RH45N püskürtmali profildan yasalgan
Oynali o‘tkazgichlar uchun (o‘g‘rilikka chidamli) ekstruziya qilingan RHE45M profildan yasalgan rollar eshiklari
Perforatsiyalangan profil (qisman yorug'lik o'tkazish) RH45PN ro'lkastiruvchi eshiklar
Perforatsiyalangan RH58PN profildan yasalgan vitrinalar uchun rolletlar, pena bilan to'ldirilgan
PREMIUM ro'lovoralar oynali ochilishlar uchun (o'g'irlikka chidamli) ekstrudirovka qilingan RHE45 profilidan yasalgan
RH58N peno to‘ldirilgan profilidan yasalgan vitrinli rolikli eshiklar
RHE78G tarmoq shaklidagi ekstrudirovka qilingan profil va shaffof qo‘shimchalar bilan ro‘llik eshik
Rol'vorota iz stal'nogo profilya (vzlomoustoychivye) RHS75, RHS75P
Tashqi va garaj uchun mo‘ljallangan RH77M penali to‘ldirilgan profilidan tayyorlangan rolevartalar
Temir profil RHS52 dan yasalgan vitrina rolstavnalari (o'g'irlikka qarshi)
Vitrin ro‘lstavniyalar (yolg‘onchilikka chidamli) ekstrudirovka qilingan RHE58M profilidan
Vitrina rolikli panjaralari (buzib kirishga chidamli) bir devorli ekstruziya qilingan RHE56M / RHE56GM profildan
Po'lat profillardan yasalgan rulonli eshiklar
Po'lat profillardan yasalgan rulonli eshiklar (o'g'irlikka chidamli) RHS117, RHS117P val drive'li elektr drayver bilan
Po‘lat profillardan yasalgan rulonli darvozalar (buzilishga qarshi chidamli) RHS117/08, RHS117P/08 ichki val bilan elektr privodli
Ombor uskunalari
Yuklash uskunalari
Plenkalı pardalar va eshiklar
Tezkor rulonli esiklar
Скоростные спиральные ворота
Po‘lat eshiklar
Uy eshiklari
Eshiklar modeli "Ultra"
Texnik va yong‘inga qarshi eshiklar
Payvandlangan to'r panjaralar tizimi
Payvandlangan to‘rli panjara seksiyalari
Payvandlangan to‘rli ko‘cha darvozalari
Payvandlangan to‘rli kalitkalar
Shtaketnikli panjara seksiyalari
Shovqin himoya konstruksiyalari
Akustik panellar
Ishlab chiqarish shovqin himoya konstruksiyalari
Kirga qarshi ekranlar
Shovqin himoya talqinida bajarilgan ochiluvchi kalitka
Shumoni himoya qiluvchi bajarilishdagi eshiklar
Texnologik shovqin himoya konstruksiyalari
Alyuminiy tizimlari
DH-BS40 balkon tizimi
DH-DW64 issiqlik uzilishli deraza-va eshik tizimi
DH-F50 fasad stoykali-rigelli tizimi
DH-LP38 ichki bo‘lim devorlari
Issiqlik uzilishsiz oynali eshik tizimi DH-DW45
Sanoat falts texnologiyasiga asoslangan DH-RS tom yopish tizimlari
Zenit yoritgichi
Avtomatlashtirish DoorHan
Maishiy seksiyali eshiklar uchun drayvlar
Sanoat seksiyali eshiklari uchun drayvlar
Aylanadigan eshiklar uchun drayvlar
Sürgülü eshiklar uchun drayvlar
To'siqlar
Vandalga qarshi to'siqlar
Zanjirli to'siqlar
Aylanadigan eshiklar uchun drayvlar
Windows uchun disklar
Aksessuarlar
Bollardlar
Rollet va rolvorotlar uchun avtomatika
Boshqaruv bloklari
RS turkumidagi val ichiga o‘rnatiladigan roletli uzatmalar
SHAFT seriyasidagi naval turidagi rolletlar uchun privod
Angar darvozalari
Angar eshiklari individual loyiha bo'yicha
Prefabrik binolar
Modulli dizaynlar
Ramkali binolar
Uy to'plami EFFECT
Mineral tola
Shaxsiy uy va kvartiralar uchun issiqlik izolyatsiyasi
Fasadlar uchun issiqlik izolyatsiyasi
Yassi tomlar uchun issiqlik izolyatsiyasi
Sandvich-panellar uchun issiqlik izolyatsiyasi
Ovoz izolyatsiyasi
Profilangan varaq
Qurilish səndvich-panellari
Bazalt bog'lovchili mineral jun plitalaridan yasalgan yadrosi bo'lgan səndvich-panellari
Penopoliizoziyanurat (PIR) yadrosi bo‘lgan səndvich-panellari
Yumshoq qoplamali PIR-panellar (PIR-plita)
To‘xtash joyi pavilyonlari, soyabonlar va kichik arxitektura shakllari (KAS)
"Siti" seriyasidagi to‘xtash joyi pavilyonlari
"Region standart" seriyasidagi to‘xtash joyi pavilyonlari
Soyabonlar
Layt-bokslar
Avtomatik yuvilib ochiladigan eshiklar
Ikki panelli yuvilib ochiladigan eshiklar
Teleskopik yuvilib ochiladigan eshiklar
Antipaniya tizimi bilan yuvilib ochiladigan eshiklar
Bitta panelli yuvilib ochiladigan eshiklar
Garajlar
EFFECT GARAGE 24 YANGI
EFFECT GARAGE 36 garaji
Metall konstruksiyalarni issiq galvanizatsiyalash
Katta o'lchamdagi metall konstruktsiyalarni issiq galvanizatsiya qilish
Prokat alyuminiy va galvanizli po'latni bo'yash
Alyuminiy sovuq haddelenmiş mahsulotlar
Polimer qoplamali sovuq haddelenmiş alyuminiy
Montaj bilan buyurtma qilish
Montaj bilan buyurtma qilish
Montaj bilan buyurtma qilish
Buyurtma berish
Kompaniya menejerlari barcha savollaringizga telefon orqali javob berishadi::
ОРQАГА ҚO‘Н‘ИРОҚ