ru
uz
ru
Отмена
Каталог
Кровельные системы на основе тепло- и гидроизоляционных материалов
Кровельные системы на основе тепло- и гидроизоляционных материалов
Секционные ворота
Гаражные ворота
Промышленные ворота
Дверь гаражная
Уличные ворота
Откатные уличные ворота
Комплекты балок для уличных ворот
Распашные уличные ворота
Калитки
Заборная секция
Промышленные складные, откатные и распашные ворота
Складные и откатные ворота
Распашные гаражные ворота
Противопожарные ворота
Откатные противопожарные ворота с пределом огнестойкости EI60, EI90
Распашные гаражные ворота из панелей с заполнением минеральной ватой серии VRGMV01
Распашные противопожарные ворота с пределом огнестойкости EI60, EI90
Секционные противопожарные ворота с пределом огнестойкости EI60
Шторы противодымные с пределом огнестойкости E60 и E120
Шторы противопожарные с пределом огнестойкости EI 60
Шторы противопожарные с пределом огнестойкости EI120 (при наличии орошения)
Двери и ворота для охлаждаемых помещений
Дверь маятниковая с заполнением сэндвич-панелями серии IPD
Дверь откатная для камер с регулируемой газовой средой серии RGS
Дверь откатная для охлаждаемых помещений серии IDS
Дверь подъемная вертикальная для охлаждаемых помещений серии IDV
Дверь промышленная распашная двустворчатая для охлаждаемых помещений серии IDH2-1
Дверь промышленная распашная для охлаждаемых помещений серии IDH1-1
Дверь распашная одностворчатая PromStandart
Дверь технологическая двустворчатая серии FD2H
Дверь технологическая одностворчатая серии FDH
Клапан вентиляционный для овощехранилищ серии VV
Комплект холодильной камеры DoorHan серии RC-PP
Люк технологический для охлаждаемых помещений серии IDT
Рольставни и рольворота
Калитка в алюминиевой раме с роллетным профилем
Рольворота из решетчатого экструдированного профиля RHE78G с прозрачными вставками
Рольворота из стального профиля (взломоустойчивые) RHS75, RHS75P
Рольставни PREMIUM для оконных проемов (взломоустойчивые) из экструдированного профиля RHE45
Рольставни витринные (взломоустойчивые) из одностенного экструдированного профиля RHE56M / RHE56GM
Рольставни витринные (взломоустойчивые) из стального профиля RHS52
Рольставни витринные (взломоустойчивые) из экструдированного профиля RHE58M
Рольставни витринные из пенозаполненного профиля RH58N
Рольставни витринные из пенозаполненного профиля перфорированного RH58PN
Рольставни для оконных проемов (взломоустойчивые) из экструдированного профиля RHE45M
Рольставни для оконных проемов (энергосберегающие) из пенозаполненного профиля RH41N, RH45N
Рольставни из перфорированного профиля (частичное пропускание света) RH45PN
Уличные и гаражные рольворота из одностенного экструдированного профиля RHE84M / RHE84GM
Уличные и гаражные рольворота из пенозаполненного профиля RH77M
Рулонные ворота из стальных профилей
Рулонные ворота из стальных профилей (взломоустойчивые) RHS117, RHS117P с вальным электроприводом
Рулонные ворота из стальных профилей (взломоустойчивые) RHS117/08, RHS117P/08 с внутривальным электроприводом
Складское оборудование
Перегрузочное оборудование
Пленочные завесы и ворота
Скоростные рулонные ворота
Скоростные спиральные ворота
Стальные двери
Двери бытовые
Двери модели "Ультра"
Двери технические и противопожарные
Системы ограждений из сварной сетки
Заборные секции из сварной сетки
Уличные ворота из сварной сетки
Калитки из сварной сетки
Заборные секции из штакетника
Акустические экраны
Акустические экраны
Грязезащитные экраны
Калитка распашная в шумозащитном исполнении
Производственные шумозащитные конструкции
Распашные ворота в шумозащитном исполнении
Технологические шумозащитные конструкции
Алюминиевые системы
Балконная система DH-BS40
Зенитный фонарь
Интерьерные перегородки DH-LP38
Кровельные системы по технологии промышленного фальца DH-RS
Оконно-дверная система без терморазрыва DH-DW45
Оконно-дверная система с терморазрывом DH-DW64
Фасадная стоечно-ригельная система DH-F50
Автоматика DoorHan
Приводы для бытовых секционных ворот
Приводы для промышленных секционных ворот
Приводы для распашных ворот
Приводы для откатных ворот
Шлагбаумы
Антивандальные шлагбаумы
Цепные барьеры и болларды
Приводы для распашных дверей
Приводы для окон
Аксессуары
Болларды
Автоматика для рольворот и роллет
Блоки управления
Внутривальные приводы постоянного тока с высокой интенсивностью серии DCM
Внутривальные роллетные приводы серии RS
Привод для рольворот навального типа серии SHAFT
Ангарные ворота
Ангарные ворота по индивидуальному проекту
Быстровозводимые здания
Модульные конструкции
Каркасные здания
Домокомплект EFFECT
Минеральная вата
Теплоизоляция для частного дома и квартиры
Теплоизоляция для фасадов
Теплоизоляция для плоских кровель
Теплоизоляция для сэндвич-панелей
Звукоизоляция
Профилированный лист
Строительные сэндвич-панели
Сэндвич-панели с сердечником из минераловатных плит на основе базальтового связующего
Сэндвич-панели с сердечником из пенополиизоцианурата (PIR)
PIR-панели с мягкой облицовкой (PIR-плита)
Остановочные павильоны, навесы и МАФы
Остановочные павильоны серии "Сити"
Остановочные павильоны серии "Регион стандарт"
Навесы
Лайт-боксы
Автоматические раздвижные двери
Двустворчатые раздвижные двери
Телескопические раздвижные двери
Раздвижные двери Антипаника
Нанесение полимерных покрытий на оцинкованный прокат
Нанесение полимерных покрытий на оцинкованный прокат
Нанесение полимерных покрытий на оцинкованный прокат
Нанесение полимерных покрытий на оцинкованный прокат
Нанесение полимерных покрытий на оцинкованный прокат
О компании
История компании
Вакансии и кадровая политика
Блог
Найти дилера
Партнерам
Печатная продукция
Стать партнёром
Обучение
Документация
Контакты
Секционные ворота
Гаражи
Рольставни и рольворота
Складское оборудование
Шлагбаумы
Аксессуары
Главная
Каталог
Контакты
О компании
История компании
Блог
Найти дилера
Партнерам
Печатная продукция
Стать партнёром
Обучение
Документация
Контакты
ru
uz
ru
Обратный звонок
Кабинет
Каталог
×
+998(71)2052433
info@doorhan.uz
Кровельные системы на основе тепло- и гидроизоляционных материалов
Секционные ворота
Уличные ворота
Промышленные складные, откатные и распашные ворота
Противопожарные ворота
Двери и ворота для охлаждаемых помещений
Рольставни и рольворота
Рулонные ворота из стальных профилей
Складское оборудование
Стальные двери
Системы ограждений из сварной сетки
Акустические экраны
Алюминиевые системы
Автоматика DoorHan
Автоматика для рольворот и роллет
Ангарные ворота
Быстровозводимые здания
Минеральная вата
Строительные сэндвич-панели
Остановочные павильоны, навесы и МАФы
Автоматические раздвижные двери
Гаражи
Горячее цинкование металлоконструкций
Алюминиевый прокат и окрашивание оцинкованного проката
Кровельные системы на основе тепло- и гидроизоляционных материалов
Гаражные ворота
Гаражные секционные ворота из алюминиевых сэндвич-панелей с октагональным валом RSD02LUX
Гаражные секционные ворота из стальных сэндвич-панелей с пружинами растяжения RSD01
Гаражные секционные ворота из стальных сэндвич-панелей с торсионным механизмом RSD02
Гаражные секционные ворота из стальных сэндвич-панелей с торсионным механизмом RSD02 Premium
Промышленные ворота
Промышленные секционные ворота из алюминиевых панорамных панелей с торсионным механизмом ISD02
Промышленные секционные ворота из алюминиевых сэндвич-панелей с торсионным механизмом ISD03ALU
Промышленные секционные ворота из стальных сэндвич-панелей с торсионным механизмом ISD THERMALPRO
Промышленные секционные ворота из стальных сэндвич-панелей с торсионным механизмом ISD01
Скоростные секционные ворота из алюминиевых сэндвич-панелей с торсионным механизмом ISD01-PARKING
Дверь гаражная
Гаражная дверь
Откатные уличные ворота
Откатные уличные ворота в алюминиевой раме с заполнением сэндвич-панелями SLG-A
Откатные уличные ворота стандартных размеров в алюминиевой раме с заполнением сэндвич-панелями SLG-S
Комплекты балок для уличных ворот
Профиль для ворот универсальный стальной неокрашенный Т-образный
Система роликов и направляющих для балки х/к 138 х 144 х 6, L = 8 000 мм
Система роликов и направляющих для балки х/к 60 х 55 х 3, L = 6 000 мм
Система роликов и направляющих для балки х/к 71 × 60 × 3,5, L = 6 000 мм
Система роликов и направляющих для балки х/к 95 × 88 × 5, L = 6 000 мм
Распашные уличные ворота
Распашные ворота в алюминиевой раме с заполнением сэндвич-панелями SWG‑A
Распашные ворота стандартных размеров в алюминиевой раме с заполнением сэндвич-панелями SWS
Калитки
Калитка в алюминиевой раме с заполнением профлистом PSD-P
Калитка в алюминиевой раме с заполнением сэндвич-панелями SPD-A
Калитка стандартных размеров в алюминиевой раме с заполнением профлистом SSDS
Калитка стандартных размеров в алюминиевой раме с заполнением сэндвич-панелями SPDS
Заборная секция
Заборная секция с алюминиевой окантовкой с заполнением сэндвич-панелями FS-A
Складные и откатные ворота
Промышленные откатные ворота без нижней направляющей серии ISG
Промышленные откатные ворота с нижней направляющей серии ISG-LG
Промышленные складные ворота без нижней направляющей серии IFG
Промышленные складные ворота с нижней направляющей серии IFG-LG
Промышленные складные панорамные ворота без нижней направляющей серии IFG-P
Распашные гаражные ворота
Распашные гаражные ворота из панелей с заполнением PIR серии SG-SS
Откатные противопожарные ворота с пределом огнестойкости EI60, EI90
Распашные гаражные ворота из панелей с заполнением минеральной ватой серии VRGMV01
Распашные противопожарные ворота с пределом огнестойкости EI60, EI90
Секционные противопожарные ворота с пределом огнестойкости EI60
Шторы противодымные с пределом огнестойкости E60 и E120
Шторы противопожарные с пределом огнестойкости EI 60
Шторы противопожарные с пределом огнестойкости EI120 (при наличии орошения)
Дверь маятниковая с заполнением сэндвич-панелями серии IPD
Дверь откатная для камер с регулируемой газовой средой серии RGS
Дверь откатная для охлаждаемых помещений серии IDS
Дверь подъемная вертикальная для охлаждаемых помещений серии IDV
Дверь промышленная распашная двустворчатая для охлаждаемых помещений серии IDH2-1
Дверь промышленная распашная для охлаждаемых помещений серии IDH1-1
Дверь распашная одностворчатая PromStandart
Дверь технологическая двустворчатая серии FD2H
Дверь технологическая одностворчатая серии FDH
Клапан вентиляционный для овощехранилищ серии VV
Комплект холодильной камеры DoorHan серии RC-PP
Люк технологический для охлаждаемых помещений серии IDT
Калитка в алюминиевой раме с роллетным профилем
Рольворота из решетчатого экструдированного профиля RHE78G с прозрачными вставками
Рольворота из стального профиля (взломоустойчивые) RHS75, RHS75P
Рольставни PREMIUM для оконных проемов (взломоустойчивые) из экструдированного профиля RHE45
Рольставни витринные (взломоустойчивые) из одностенного экструдированного профиля RHE56M / RHE56GM
Рольставни витринные (взломоустойчивые) из стального профиля RHS52
Рольставни витринные (взломоустойчивые) из экструдированного профиля RHE58M
Рольставни витринные из пенозаполненного профиля RH58N
Рольставни витринные из пенозаполненного профиля перфорированного RH58PN
Рольставни для оконных проемов (взломоустойчивые) из экструдированного профиля RHE45M
Рольставни для оконных проемов (энергосберегающие) из пенозаполненного профиля RH41N, RH45N
Рольставни из перфорированного профиля (частичное пропускание света) RH45PN
Уличные и гаражные рольворота из одностенного экструдированного профиля RHE84M / RHE84GM
Уличные и гаражные рольворота из пенозаполненного профиля RH77M
Рулонные ворота из стальных профилей (взломоустойчивые) RHS117, RHS117P с вальным электроприводом
Рулонные ворота из стальных профилей (взломоустойчивые) RHS117/08, RHS117P/08 с внутривальным электроприводом
Перегрузочное оборудование
Герметизатор надувной серии DSHINF
Герметизатор подушечный серии DSHC
Герметизатор с жесткой рамой серии DSHRD
Герметизатор со складной рамой серии DSHRN
Мост откидной стационарный FTF, скользящий FTS
Мост переносной серии MT
Платформа уравнительная консольного типа с поворотной аппарелью серии DLHHC
Платформа уравнительная механическая «МИНИДОК» серии MDLM
Платформа уравнительная механическая серии MODL
Платформа уравнительная с выдвижной аппарелью консольного типа серии DSMC
Платформа уравнительная с выдвижной аппарелью серии DS
Платформа уравнительная с выдвижной аппарелью серии DSM
Платформа уравнительная с поворотной аппарелью серии DLHH
Рампа мобильная без опоры на кузов автомобиля серии RMFS
Рампа мобильная с опорой на кузов автомобиля серии RMTS
Рампа мобильная с трехсторонней загрузкой серии 3SRM
Рампа мобильная укороченная серии RM
Стол подъемный с двумя парами ножниц серии 2LT
Стол подъемный с одной парой ножниц серии LT
Стол подъемный с тремя парами ножниц серии 3LT
Стол подъемный с четырьмя парами ножниц серии 4LT
Тамбур перегрузочный легкой серии DHOUSL
Тамбур перегрузочный стандартной серии DHOUS
Ферма выносная серий FEH, FET
Пленочные завесы и ворота
Пластиковые маятниковые двери серии SWD
Пленочные маятниковые двери серии SSD
Пленочные полосовые завесы серии FC
Скоростные рулонные ворота
Ворота скоростные морозильные серии FHSD
Скоростные рулонные ворота серии SPEEDROLL 2ST
Скоростные рулонные ворота серии SPEEDROLL SDA
Скоростные рулонные ворота серии SPEEDROLL SDF
Скоростные рулонные ворота серии SPEEDROLL SDI
Скоростные рулонные ворота серии SPEEDROLL SDO
Скоростные рулонные ворота серии SPEEDROLL SDС
Скоростные складывающиеся ворота серии SPEEDFOLD SDFS
Скоростные спиральные ворота
Скоростные спиральные ворота серии HSSD
Двери бытовые
Двери бытовые «КОМФОРТ»
Двери бытовые «ЛАМИСТАЙЛ»
Двери бытовые «ЛИДЕР»
Двери бытовые «ОПТИМ»
Двери бытовые «ПРЕМИУМ ПЛЮС»
Двери бытовые «ПРЕМИУМ»
Двери бытовые «ТЕРМО»
Двери бытовые «ЭКО»
Двери модели "Ультра"
Двери гаражные «УЛЬТРА»
Двери технические и противопожарные
Противопожарные двустворчатые двери
Противопожарные одностворчатые двери
Технические двустворчатые двери
Технические одностворчатые двери
Заборные секции из сварной сетки
Заборные секции из сварной сетки серии «ОПТИМА ЛАЙТ»
Заборные секции из сварной сетки серии «ОПТИМА»
Уличные ворота из сварной сетки
Откатные ворота со стальной рамой и с заполнением сварной сеткой
Распашные ворота со стальной рамой и с заполнением сварной сеткой
Распашные ворота со стальной рамой из Т-профиля и с заполнением сварной сеткой
Калитки из сварной сетки
Калитка со стальной рамой и c заполнением сварной сеткой
Калитка со стальной рамой из Т-профиля и с заполнением сварной сеткой, О-образная рама
Заборные секции из штакетника
Штакетник М-профиль
Акустические экраны
Грязезащитные экраны
Калитка распашная в шумозащитном исполнении
Производственные шумозащитные конструкции
Распашные ворота в шумозащитном исполнении
Технологические шумозащитные конструкции
Балконная система DH-BS40
Зенитный фонарь
Интерьерные перегородки DH-LP38
Кровельные системы по технологии промышленного фальца DH-RS
Оконно-дверная система без терморазрыва DH-DW45
Оконно-дверная система с терморазрывом DH-DW64
Фасадная стоечно-ригельная система DH-F50
Приводы для бытовых секционных ворот
Привод SECTIONAL-1200 для бытовых секционных ворот
Приводы FAST-800PRO и SECTIONAL-1200PRO для бытовых секционных ворот
Приводы SECTIONAL-800PRO и SECTIONAL-1000PRO для бытовых секционных ворот
Приводы для промышленных секционных ворот
Блоки управления
Привод SHAFT-20 для бытовых и промышленных секционных ворот
Привод SHAFT-50PRO для промышленных секционных ворот
Приводы SHAFT-120 и SHAFT-200 для промышленных секционных ворот
Приводы SHAFT-30 IP65 и SHAFT-60 IP65 для промышленных секционных ворот
Приводы SHAFT-50 и SHAFT-150 для промышленных секционных ворот
Приводы для распашных ворот
Линейные привода
Рычажные привода
Блоки управления
Приводы для откатных ворот
Блоки управления
Приводы для откатных ворот SLIDING-1300PRO и SLIDING-2100PRO
Приводы для откатных ворот SLIDING-500 и SLIDING-800
Приводы для откатных ворот SLIDING-500PRO и SLIDING-800PRO
Приводы для промышленных откатных ворот SLIDING-3000-380V и SLIDING-5000
Шлагбаумы
Скоростной шлагбаум TOLL
Шлагбаумы BARRIER-PRO/BARRIER-PRO-RPD
Антивандальные шлагбаумы
Антивандальный шлагбаум BARRIER PROTECTOR PRO
Цепные барьеры и болларды
Цепной шлагбаум CHAIN-BARRIER PRO
Приводы для распашных дверей
Привод для автоматических распашных дверей AD-SWING
Приводы для окон
Привод для автоматизации окон AWIN
Аксессуары
Устройства управления
Устройства безопасности
Системы контроля доступа
Болларды
Блоки
Гидравлический боллард BOLLARD-HB220
Блоки управления
Блок дистанционного управления CV0.1
Блок дистанционного управления роллетами CV-mini
Блок управления рольставнями SmartRoll
Блок управления рольставнями SmartRoll-2.0
Блоки группового дистанционного управления рольставнями GC2/GC4
Блоки дистанционного управления рольставнями Roll1/Roll2
Приемник ROLL для управления одной рольставней
Внутривальные приводы постоянного тока с высокой интенсивностью серии DCM
Внутривальные роллетные приводы серии RS
Привод для рольворот навального типа серии SHAFT
Ангарные ворота по индивидуальному проекту
Ворота опорные откатные
Модульные конструкции
Блочно-модульные здания с раздельной рамой перекрытия (напольная, потолочная)
Комплект рам для сборки блок-модуля и зданий с раздельной рамой перекрытия (напольная, потолочная)
Комплект рам для сборки зданий с общим перекрытием
Модульные здания с общей рамой перекрытия до четырех этажей
Модульные рамные здания
Хозяйственный блок EFFECT HOUSEHOLD 15
Каркасные здания
Каркасные здания по индивидуальному проекту
Каркасные здания рамного типа под двухскатную кровлю
Каркасные здания ферменного типа под плоскую кровлю
Домокомплект EFFECT
Домокомплект серии EFFECT ULTRA 162
Домокомплект серии EFFECT ULTRA 29
Домокомплект серии EFFECT ULTRA 44
Домокомплект серии EFFECT ULTRA 59
Домокомплект серии EFFECT ULTRA 74
Домокомплект серии EFFECT ULTRA 88
Теплоизоляция для частного дома и квартиры
Плита минераловатная DOORHAN «ЛАЙТ ЭКСТРА»
Плита минераловатная DOORHAN «ЛАЙТ»
Плита минераловатная DOORHAN «УНИВЕРСАЛ»
Теплоизоляция для фасадов
Плита минераловатная DOORHAN «ФАСАД ЭФФЕКТ»
Плита минераловатная DOORHAN «ВЕНТ ОПТИМА»
Плита минераловатная DOORHAN «ВЕНТ»
Плита минераловатная DOORHAN «ФАСАД ОПТИМА»
Плита минераловатная DOORHAN «ФАСАД ПРОФ»
Плита минераловатная DOORHAN «ФАСАД УНИВЕРСАЛ»
Плита минераловатная DOORHAN «ФАСАД»
Теплоизоляция для плоских кровель
Плита минераловатная DOORHAN «РУФ В ОПТИМА»
Плита минераловатная DOORHAN «РУФ В ЭКСТРА»
Плита минераловатная DOORHAN «РУФ В»
Плита минераловатная DOORHAN «РУФ Н ОПТИМА»
Плита минераловатная DOORHAN «РУФ Н»
Плита минераловатная DOORHAN «РУФ»
Теплоизоляция для сэндвич-панелей
Плита минераловатная DOORHAN «СЭНДВИЧ Б»
Плита минераловатная DOORHAN «СЭНДВИЧ К»
Плита минераловатная DOORHAN «СЭНДВИЧ С ОПТИМА»
Плита минераловатная DOORHAN «СЭНДВИЧ С ПРОФ»
Плита минераловатная DOORHAN «СЭНДВИЧ С СТАНДАРТ»
Звукоизоляция
Плита минераловатная DOORHAN «АКУСТИК»
Плита минераловатная DOORHAN «ФЛОР ОПТИМА»
Плита минераловатная DOORHAN «ФЛОР»
Профилированный лист
Профилированный лист Н153
Сэндвич-панели с сердечником из минераловатных плит на основе базальтового связующего
Кровельные сэндвич-панели с утеплителем из минеральной ваты
Стеновые сэндвич-панели с утеплителем из минеральной ваты
Сэндвич-панели с сердечником из пенополиизоцианурата (PIR)
Кровельные сэндвич-панели с утеплителем из пенополиизоцианурата (PIR)
Стеновые сэндвич-панели с утеплителем из пенополиизоцианурата (PIR)
PIR-панели с мягкой облицовкой (PIR-плита)
PIR-панели с мягкой облицовкой (PIR-плита)
Остановочные павильоны серии "Сити"
Остановочный павильон «УПРОЩЕННЫЙ», серия «СИТИ»
Остановочный павильон «МАЛОГАБАРИТНЫЙ СДВОЕННЫЙ», серия «СИТИ»
Остановочный павильон «МАЛОГАБАРИТНЫЙ», серия «СИТИ»
Остановочный павильон «РАСШИРЕННЫЙ», серия «СИТИ»
Остановочный павильон «СТАНДАРТ БЕЗ РЕКЛАМНОГО НОСИТЕЛЯ», серия «СИТИ»
Остановочный павильон «СТАНДАРТ СДВОЕННЫЙ», серия «СИТИ»
Остановочный павильон «СТАНДАРТ ТРАМВАЯ», серия «СИТИ»
Остановочный павильон «СТАНДАРТ», серия «СИТИ»
Остановочные павильоны серии "Регион стандарт"
Остановочный павильон «ГОРОДСКОЙ СТАНДАРТ», серия «РЕГИОН СТАНДАРТ»
Остановочный павильон «ГОРОДСКОЙ ЦЕНТР», серия «РЕГИОН СТАНДАРТ»
Остановочный павильон «МЕЖГОРОДСКОЙ», серия «РЕГИОН СТАНДАРТ»
Навесы
Навес «СУХИЕ НОГИ»
Лайт-боксы
Лайтбокс информационный
Лайтбокс рекламный
Двустворчатые раздвижные двери
Комплект автоматической раздвижной двери (две подвижные и две неподвижные лайтстворки) для привода AD-SP
Комплект автоматической раздвижной двери (две подвижные лайтстворки и фрамуга сверху) для привода AD-SP
Комплект автоматической раздвижной двери (две подвижные лайтстворки) для привода AD-SP
Комплект автоматической раздвижной двери (две подвижные цельностеклянные створки) для привода AD-SP
Комплект автоматической раздвижной двери (две подвижные, две неподвижные створки и фрамуга сверху) для привода AD-SP
Комплект автоматической раздвижной двери (две подвижные, две неподвижные, две распашные створки и фрамуга сверху) для привода AD-SP
Комплект автоматической раздвижной двери (две подвижные, две неподвижные, одна распашная створки и фрамуга сверху) для привода AD-SP
Телескопические раздвижные двери
Комплект телескопической раздвижной двери (две подвижные и одна неподвижная лайтстворки и фрамуга) для привода AD-SP-TELESCOPE
Комплект телескопической раздвижной двери (две подвижные лайтстворки и фрамуга) для привода AD-SP-TELESCOPE
Комплект телескопической раздвижной двери (две подвижные лайтстворки) для привода AD-SP-TELESCOPE
Комплект телескопической раздвижной двери (четыре подвижные и две неподвижные лайтстворки и фрамуга) для привода AD-SP-TELESCOPE
Комплект телескопической раздвижной двери (четыре подвижные лайтстворки и фрамуга) для привода AD-SP-TELESCOPE
Комплект телескопической раздвижной двери (четыре подвижные лайтстворки) для привода AD-SP-Telescope
Раздвижные двери Антипаника
Комплект автоматической раздвижной двери «антипаника» (две подвижные створки «антипаника») для привода AD-SP
Комплект автоматической раздвижной двери «антипаника» (одна подвижная створка «антипаника») для привода AD-SP
Комплект автоматической раздвижной двери (две подвижные и две неподвижные створки антипаника) для привода AD-SP
Комплект автоматической раздвижной двери (одна подвижная и одна неподвижная створки антипаника) для привода AD-SP
Одностворчатые раздвижные двери
Комплект автоматической раздвижной двери (одна подвижная и одна неподвижная лайтстворка) для привода AD-SP
Комплект автоматической раздвижной двери (одна подвижная лайтстворка и фрамуга сверху) для привода AD-SP
Комплект автоматической раздвижной двери (одна подвижная лайтстворка) для привода AD-SP
Комплект автоматической раздвижной двери (одна подвижная, одна неподвижная створки и фрамуга сверху) для привода AD-SP
Комплект автоматической раздвижной двери (одна подвижная, одна неподвижная, одна распашная створки и фрамуга сверху) для привода AD-SP
Гараж EFFECT GARAGE 36
Горячее цинкование крупногабаритных металлоконструкций
Алюминиевый холоднокатаный прокат
Алюминиевый холоднокатаный прокат с полимерным покрытием
Нанесение полимерных покрытий на оцинкованный прокат
Каталог
Кровельные системы на основе тепло- и гидроизоляционных материалов
Кровельные системы на основе тепло- и гидроизоляционных материалов
Секционные ворота
Гаражные ворота
Гаражные секционные ворота из алюминиевых сэндвич-панелей с октагональным валом RSD02LUX
Гаражные секционные ворота из стальных сэндвич-панелей с пружинами растяжения RSD01
Гаражные секционные ворота из стальных сэндвич-панелей с торсионным механизмом RSD02
Гаражные секционные ворота из стальных сэндвич-панелей с торсионным механизмом RSD02 Premium
Промышленные ворота
Промышленные секционные ворота из алюминиевых панорамных панелей с торсионным механизмом ISD02
Промышленные секционные ворота из алюминиевых сэндвич-панелей с торсионным механизмом ISD03ALU
Промышленные секционные ворота из стальных сэндвич-панелей с торсионным механизмом ISD THERMALPRO
Промышленные секционные ворота из стальных сэндвич-панелей с торсионным механизмом ISD01
Скоростные секционные ворота из алюминиевых сэндвич-панелей с торсионным механизмом ISD01-PARKING
Дверь гаражная
Гаражная дверь
Уличные ворота
Откатные уличные ворота
Откатные уличные ворота в алюминиевой раме с заполнением сэндвич-панелями SLG-A
Откатные уличные ворота стандартных размеров в алюминиевой раме с заполнением сэндвич-панелями SLG-S
Комплекты балок для уличных ворот
Профиль для ворот универсальный стальной неокрашенный Т-образный
Система роликов и направляющих для балки х/к 138 х 144 х 6, L = 8 000 мм
Система роликов и направляющих для балки х/к 60 х 55 х 3, L = 6 000 мм
Система роликов и направляющих для балки х/к 71 × 60 × 3,5, L = 6 000 мм
Система роликов и направляющих для балки х/к 95 × 88 × 5, L = 6 000 мм
Распашные уличные ворота
Распашные ворота в алюминиевой раме с заполнением сэндвич-панелями SWG‑A
Распашные ворота стандартных размеров в алюминиевой раме с заполнением сэндвич-панелями SWS
Калитки
Калитка в алюминиевой раме с заполнением профлистом PSD-P
Калитка в алюминиевой раме с заполнением сэндвич-панелями SPD-A
Калитка стандартных размеров в алюминиевой раме с заполнением профлистом SSDS
Калитка стандартных размеров в алюминиевой раме с заполнением сэндвич-панелями SPDS
Заборная секция
Заборная секция с алюминиевой окантовкой с заполнением сэндвич-панелями FS-A
Промышленные складные, откатные и распашные ворота
Складные и откатные ворота
Промышленные откатные ворота без нижней направляющей серии ISG
Промышленные откатные ворота с нижней направляющей серии ISG-LG
Промышленные складные ворота без нижней направляющей серии IFG
Промышленные складные ворота с нижней направляющей серии IFG-LG
Промышленные складные панорамные ворота без нижней направляющей серии IFG-P
Распашные гаражные ворота
Распашные гаражные ворота из панелей с заполнением PIR серии SG-SS
Противопожарные ворота
Откатные противопожарные ворота с пределом огнестойкости EI60, EI90
Распашные гаражные ворота из панелей с заполнением минеральной ватой серии VRGMV01
Распашные противопожарные ворота с пределом огнестойкости EI60, EI90
Секционные противопожарные ворота с пределом огнестойкости EI60
Шторы противодымные с пределом огнестойкости E60 и E120
Шторы противопожарные с пределом огнестойкости EI 60
Шторы противопожарные с пределом огнестойкости EI120 (при наличии орошения)
Двери и ворота для охлаждаемых помещений
Дверь маятниковая с заполнением сэндвич-панелями серии IPD
Дверь откатная для камер с регулируемой газовой средой серии RGS
Дверь откатная для охлаждаемых помещений серии IDS
Дверь подъемная вертикальная для охлаждаемых помещений серии IDV
Дверь промышленная распашная двустворчатая для охлаждаемых помещений серии IDH2-1
Дверь промышленная распашная для охлаждаемых помещений серии IDH1-1
Дверь распашная одностворчатая PromStandart
Дверь технологическая двустворчатая серии FD2H
Дверь технологическая одностворчатая серии FDH
Клапан вентиляционный для овощехранилищ серии VV
Комплект холодильной камеры DoorHan серии RC-PP
Люк технологический для охлаждаемых помещений серии IDT
Рольставни и рольворота
Калитка в алюминиевой раме с роллетным профилем
Рольворота из решетчатого экструдированного профиля RHE78G с прозрачными вставками
Рольворота из стального профиля (взломоустойчивые) RHS75, RHS75P
Рольставни PREMIUM для оконных проемов (взломоустойчивые) из экструдированного профиля RHE45
Рольставни витринные (взломоустойчивые) из одностенного экструдированного профиля RHE56M / RHE56GM
Рольставни витринные (взломоустойчивые) из стального профиля RHS52
Рольставни витринные (взломоустойчивые) из экструдированного профиля RHE58M
Рольставни витринные из пенозаполненного профиля RH58N
Рольставни витринные из пенозаполненного профиля перфорированного RH58PN
Рольставни для оконных проемов (взломоустойчивые) из экструдированного профиля RHE45M
Рольставни для оконных проемов (энергосберегающие) из пенозаполненного профиля RH41N, RH45N
Рольставни из перфорированного профиля (частичное пропускание света) RH45PN
Уличные и гаражные рольворота из одностенного экструдированного профиля RHE84M / RHE84GM
Уличные и гаражные рольворота из пенозаполненного профиля RH77M
Рулонные ворота из стальных профилей
Рулонные ворота из стальных профилей (взломоустойчивые) RHS117, RHS117P с вальным электроприводом
Рулонные ворота из стальных профилей (взломоустойчивые) RHS117/08, RHS117P/08 с внутривальным электроприводом
Складское оборудование
Перегрузочное оборудование
Герметизатор надувной серии DSHINF
Герметизатор подушечный серии DSHC
Герметизатор с жесткой рамой серии DSHRD
Герметизатор со складной рамой серии DSHRN
Мост откидной стационарный FTF, скользящий FTS
Мост переносной серии MT
Платформа уравнительная консольного типа с поворотной аппарелью серии DLHHC
Платформа уравнительная механическая «МИНИДОК» серии MDLM
Платформа уравнительная механическая серии MODL
Платформа уравнительная с выдвижной аппарелью консольного типа серии DSMC
Платформа уравнительная с выдвижной аппарелью серии DS
Платформа уравнительная с выдвижной аппарелью серии DSM
Платформа уравнительная с поворотной аппарелью серии DLHH
Рампа мобильная без опоры на кузов автомобиля серии RMFS
Рампа мобильная с опорой на кузов автомобиля серии RMTS
Рампа мобильная с трехсторонней загрузкой серии 3SRM
Рампа мобильная укороченная серии RM
Стол подъемный с двумя парами ножниц серии 2LT
Стол подъемный с одной парой ножниц серии LT
Стол подъемный с тремя парами ножниц серии 3LT
Стол подъемный с четырьмя парами ножниц серии 4LT
Тамбур перегрузочный легкой серии DHOUSL
Тамбур перегрузочный стандартной серии DHOUS
Ферма выносная серий FEH, FET
Пленочные завесы и ворота
Пластиковые маятниковые двери серии SWD
Пленочные маятниковые двери серии SSD
Пленочные полосовые завесы серии FC
Скоростные рулонные ворота
Ворота скоростные морозильные серии FHSD
Скоростные рулонные ворота серии SPEEDROLL 2ST
Скоростные рулонные ворота серии SPEEDROLL SDA
Скоростные рулонные ворота серии SPEEDROLL SDF
Скоростные рулонные ворота серии SPEEDROLL SDI
Скоростные рулонные ворота серии SPEEDROLL SDO
Скоростные рулонные ворота серии SPEEDROLL SDС
Скоростные складывающиеся ворота серии SPEEDFOLD SDFS
Скоростные спиральные ворота
Скоростные спиральные ворота серии HSSD
Стальные двери
Двери бытовые
Двери бытовые «КОМФОРТ»
Двери бытовые «ЛАМИСТАЙЛ»
Двери бытовые «ЛИДЕР»
Двери бытовые «ОПТИМ»
Двери бытовые «ПРЕМИУМ ПЛЮС»
Двери бытовые «ПРЕМИУМ»
Двери бытовые «ТЕРМО»
Двери бытовые «ЭКО»
Двери модели "Ультра"
Двери гаражные «УЛЬТРА»
Двери технические и противопожарные
Противопожарные двустворчатые двери
Противопожарные одностворчатые двери
Технические двустворчатые двери
Технические одностворчатые двери
Системы ограждений из сварной сетки
Заборные секции из сварной сетки
Заборные секции из сварной сетки серии «ОПТИМА ЛАЙТ»
Заборные секции из сварной сетки серии «ОПТИМА»
Уличные ворота из сварной сетки
Откатные ворота со стальной рамой и с заполнением сварной сеткой
Распашные ворота со стальной рамой и с заполнением сварной сеткой
Распашные ворота со стальной рамой из Т-профиля и с заполнением сварной сеткой
Калитки из сварной сетки
Калитка со стальной рамой и c заполнением сварной сеткой
Калитка со стальной рамой из Т-профиля и с заполнением сварной сеткой, О-образная рама
Заборные секции из штакетника
Штакетник М-профиль
Акустические экраны
Акустические экраны
Грязезащитные экраны
Калитка распашная в шумозащитном исполнении
Производственные шумозащитные конструкции
Распашные ворота в шумозащитном исполнении
Технологические шумозащитные конструкции
Алюминиевые системы
Балконная система DH-BS40
Зенитный фонарь
Интерьерные перегородки DH-LP38
Кровельные системы по технологии промышленного фальца DH-RS
Оконно-дверная система без терморазрыва DH-DW45
Оконно-дверная система с терморазрывом DH-DW64
Фасадная стоечно-ригельная система DH-F50
Автоматика DoorHan
Приводы для бытовых секционных ворот
Привод SECTIONAL-1200 для бытовых секционных ворот
Приводы FAST-800PRO и SECTIONAL-1200PRO для бытовых секционных ворот
Приводы SECTIONAL-800PRO и SECTIONAL-1000PRO для бытовых секционных ворот
Приводы для промышленных секционных ворот
Блоки управления
Привод SHAFT-20 для бытовых и промышленных секционных ворот
Привод SHAFT-50PRO для промышленных секционных ворот
Приводы SHAFT-120 и SHAFT-200 для промышленных секционных ворот
Приводы SHAFT-30 IP65 и SHAFT-60 IP65 для промышленных секционных ворот
Приводы SHAFT-50 и SHAFT-150 для промышленных секционных ворот
Приводы для распашных ворот
Линейные привода
Рычажные привода
Блоки управления
Приводы для откатных ворот
Блоки управления
Приводы для откатных ворот SLIDING-1300PRO и SLIDING-2100PRO
Приводы для откатных ворот SLIDING-500 и SLIDING-800
Приводы для откатных ворот SLIDING-500PRO и SLIDING-800PRO
Приводы для промышленных откатных ворот SLIDING-3000-380V и SLIDING-5000
Шлагбаумы
Скоростной шлагбаум TOLL
Шлагбаумы BARRIER-PRO/BARRIER-PRO-RPD
Антивандальные шлагбаумы
Антивандальный шлагбаум BARRIER PROTECTOR PRO
Цепные барьеры и болларды
Цепной шлагбаум CHAIN-BARRIER PRO
Приводы для распашных дверей
Привод для автоматических распашных дверей AD-SWING
Приводы для окон
Привод для автоматизации окон AWIN
Аксессуары
Устройства управления
Устройства безопасности
Системы контроля доступа
Болларды
Блоки
Гидравлический боллард BOLLARD-HB220
Автоматика для рольворот и роллет
Блоки управления
Блок дистанционного управления CV0.1
Блок дистанционного управления роллетами CV-mini
Блок управления рольставнями SmartRoll
Блок управления рольставнями SmartRoll-2.0
Блоки группового дистанционного управления рольставнями GC2/GC4
Блоки дистанционного управления рольставнями Roll1/Roll2
Приемник ROLL для управления одной рольставней
Внутривальные приводы постоянного тока с высокой интенсивностью серии DCM
Внутривальные роллетные приводы серии RS
Привод для рольворот навального типа серии SHAFT
Ангарные ворота
Ангарные ворота по индивидуальному проекту
Ворота опорные откатные
Быстровозводимые здания
Модульные конструкции
Блочно-модульные здания с раздельной рамой перекрытия (напольная, потолочная)
Комплект рам для сборки блок-модуля и зданий с раздельной рамой перекрытия (напольная, потолочная)
Комплект рам для сборки зданий с общим перекрытием
Модульные здания с общей рамой перекрытия до четырех этажей
Модульные рамные здания
Хозяйственный блок EFFECT HOUSEHOLD 15
Каркасные здания
Каркасные здания по индивидуальному проекту
Каркасные здания рамного типа под двухскатную кровлю
Каркасные здания ферменного типа под плоскую кровлю
Домокомплект EFFECT
Домокомплект серии EFFECT ULTRA 162
Домокомплект серии EFFECT ULTRA 29
Домокомплект серии EFFECT ULTRA 44
Домокомплект серии EFFECT ULTRA 59
Домокомплект серии EFFECT ULTRA 74
Домокомплект серии EFFECT ULTRA 88
Минеральная вата
Теплоизоляция для частного дома и квартиры
Плита минераловатная DOORHAN «ЛАЙТ ЭКСТРА»
Плита минераловатная DOORHAN «ЛАЙТ»
Плита минераловатная DOORHAN «УНИВЕРСАЛ»
Теплоизоляция для фасадов
Плита минераловатная DOORHAN «ФАСАД ЭФФЕКТ»
Плита минераловатная DOORHAN «ВЕНТ ОПТИМА»
Плита минераловатная DOORHAN «ВЕНТ»
Плита минераловатная DOORHAN «ФАСАД ОПТИМА»
Плита минераловатная DOORHAN «ФАСАД ПРОФ»
Плита минераловатная DOORHAN «ФАСАД УНИВЕРСАЛ»
Плита минераловатная DOORHAN «ФАСАД»
Теплоизоляция для плоских кровель
Плита минераловатная DOORHAN «РУФ В ОПТИМА»
Плита минераловатная DOORHAN «РУФ В ЭКСТРА»
Плита минераловатная DOORHAN «РУФ В»
Плита минераловатная DOORHAN «РУФ Н ОПТИМА»
Плита минераловатная DOORHAN «РУФ Н»
Плита минераловатная DOORHAN «РУФ»
Теплоизоляция для сэндвич-панелей
Плита минераловатная DOORHAN «СЭНДВИЧ Б»
Плита минераловатная DOORHAN «СЭНДВИЧ К»
Плита минераловатная DOORHAN «СЭНДВИЧ С ОПТИМА»
Плита минераловатная DOORHAN «СЭНДВИЧ С ПРОФ»
Плита минераловатная DOORHAN «СЭНДВИЧ С СТАНДАРТ»
Звукоизоляция
Плита минераловатная DOORHAN «АКУСТИК»
Плита минераловатная DOORHAN «ФЛОР ОПТИМА»
Плита минераловатная DOORHAN «ФЛОР»
Профилированный лист
Профилированный лист Н153
Строительные сэндвич-панели
Сэндвич-панели с сердечником из минераловатных плит на основе базальтового связующего
Кровельные сэндвич-панели с утеплителем из минеральной ваты
Стеновые сэндвич-панели с утеплителем из минеральной ваты
Сэндвич-панели с сердечником из пенополиизоцианурата (PIR)
Кровельные сэндвич-панели с утеплителем из пенополиизоцианурата (PIR)
Стеновые сэндвич-панели с утеплителем из пенополиизоцианурата (PIR)
PIR-панели с мягкой облицовкой (PIR-плита)
PIR-панели с мягкой облицовкой (PIR-плита)
Остановочные павильоны, навесы и МАФы
Остановочные павильоны серии "Сити"
Остановочный павильон «УПРОЩЕННЫЙ», серия «СИТИ»
Остановочный павильон «МАЛОГАБАРИТНЫЙ СДВОЕННЫЙ», серия «СИТИ»
Остановочный павильон «МАЛОГАБАРИТНЫЙ», серия «СИТИ»
Остановочный павильон «РАСШИРЕННЫЙ», серия «СИТИ»
Остановочный павильон «СТАНДАРТ БЕЗ РЕКЛАМНОГО НОСИТЕЛЯ», серия «СИТИ»
Остановочный павильон «СТАНДАРТ СДВОЕННЫЙ», серия «СИТИ»
Остановочный павильон «СТАНДАРТ ТРАМВАЯ», серия «СИТИ»
Остановочный павильон «СТАНДАРТ», серия «СИТИ»
Остановочные павильоны серии "Регион стандарт"
Остановочный павильон «ГОРОДСКОЙ СТАНДАРТ», серия «РЕГИОН СТАНДАРТ»
Остановочный павильон «ГОРОДСКОЙ ЦЕНТР», серия «РЕГИОН СТАНДАРТ»
Остановочный павильон «МЕЖГОРОДСКОЙ», серия «РЕГИОН СТАНДАРТ»
Навесы
Навес «СУХИЕ НОГИ»
Лайт-боксы
Лайтбокс информационный
Лайтбокс рекламный
Автоматические раздвижные двери
Двустворчатые раздвижные двери
Комплект автоматической раздвижной двери (две подвижные и две неподвижные лайтстворки) для привода AD-SP
Комплект автоматической раздвижной двери (две подвижные лайтстворки и фрамуга сверху) для привода AD-SP
Комплект автоматической раздвижной двери (две подвижные лайтстворки) для привода AD-SP
Комплект автоматической раздвижной двери (две подвижные цельностеклянные створки) для привода AD-SP
Комплект автоматической раздвижной двери (две подвижные, две неподвижные створки и фрамуга сверху) для привода AD-SP
Комплект автоматической раздвижной двери (две подвижные, две неподвижные, две распашные створки и фрамуга сверху) для привода AD-SP
Комплект автоматической раздвижной двери (две подвижные, две неподвижные, одна распашная створки и фрамуга сверху) для привода AD-SP
Телескопические раздвижные двери
Комплект телескопической раздвижной двери (две подвижные и одна неподвижная лайтстворки и фрамуга) для привода AD-SP-TELESCOPE
Комплект телескопической раздвижной двери (две подвижные лайтстворки и фрамуга) для привода AD-SP-TELESCOPE
Комплект телескопической раздвижной двери (две подвижные лайтстворки) для привода AD-SP-TELESCOPE
Комплект телескопической раздвижной двери (четыре подвижные и две неподвижные лайтстворки и фрамуга) для привода AD-SP-TELESCOPE
Комплект телескопической раздвижной двери (четыре подвижные лайтстворки и фрамуга) для привода AD-SP-TELESCOPE
Комплект телескопической раздвижной двери (четыре подвижные лайтстворки) для привода AD-SP-Telescope
Раздвижные двери Антипаника
Комплект автоматической раздвижной двери «антипаника» (две подвижные створки «антипаника») для привода AD-SP
Комплект автоматической раздвижной двери «антипаника» (одна подвижная створка «антипаника») для привода AD-SP
Комплект автоматической раздвижной двери (две подвижные и две неподвижные створки антипаника) для привода AD-SP
Комплект автоматической раздвижной двери (одна подвижная и одна неподвижная створки антипаника) для привода AD-SP
Одностворчатые раздвижные двери
Комплект автоматической раздвижной двери (одна подвижная и одна неподвижная лайтстворка) для привода AD-SP
Комплект автоматической раздвижной двери (одна подвижная лайтстворка и фрамуга сверху) для привода AD-SP
Комплект автоматической раздвижной двери (одна подвижная лайтстворка) для привода AD-SP
Комплект автоматической раздвижной двери (одна подвижная, одна неподвижная створки и фрамуга сверху) для привода AD-SP
Комплект автоматической раздвижной двери (одна подвижная, одна неподвижная, одна распашная створки и фрамуга сверху) для привода AD-SP
Гаражи
Гараж EFFECT GARAGE 36
Горячее цинкование металлоконструкций
Горячее цинкование крупногабаритных металлоконструкций
Алюминиевый прокат и окрашивание оцинкованного проката
Алюминиевый холоднокатаный прокат
Алюминиевый холоднокатаный прокат с полимерным покрытием
Нанесение полимерных покрытий на оцинкованный прокат
Секционные ворота
Гаражи
Рольставни и рольворота
Складское оборудование
Шлагбаумы
Аксессуары
Главная
Каталог
Алюминиевые системы
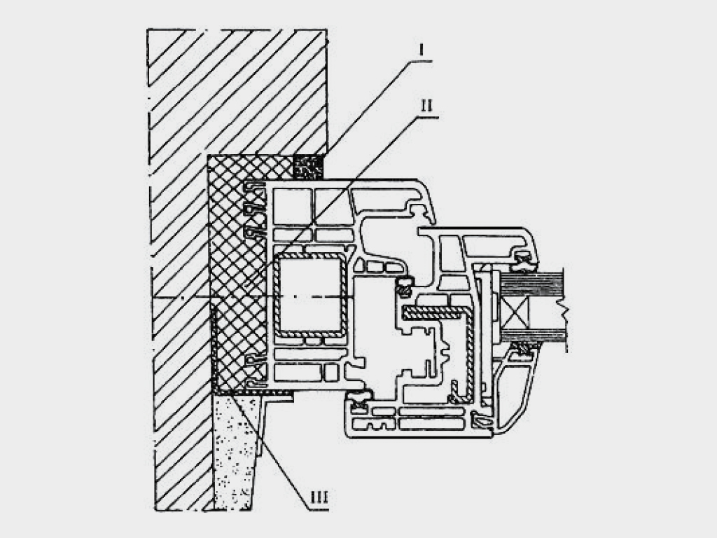
Оконно-дверная система без терморазрыва DH-DW45
Оконно-дверная система без терморазрыва DH-DW45
Кровельные системы на основе тепло- и гидроизоляционных материалов
Кровельные системы на основе тепло- и гидроизоляционных материалов
Секционные ворота
Гаражные ворота
Промышленные ворота
Дверь гаражная
Уличные ворота
Откатные уличные ворота
Комплекты балок для уличных ворот
Распашные уличные ворота
Калитки
Заборная секция
Промышленные складные, откатные и распашные ворота
Складные и откатные ворота
Распашные гаражные ворота
Противопожарные ворота
Откатные противопожарные ворота с пределом огнестойкости EI60, EI90
Распашные гаражные ворота из панелей с заполнением минеральной ватой серии VRGMV01
Распашные противопожарные ворота с пределом огнестойкости EI60, EI90
Секционные противопожарные ворота с пределом огнестойкости EI60
Шторы противодымные с пределом огнестойкости E60 и E120
Шторы противопожарные с пределом огнестойкости EI 60
Шторы противопожарные с пределом огнестойкости EI120 (при наличии орошения)
Двери и ворота для охлаждаемых помещений
Дверь маятниковая с заполнением сэндвич-панелями серии IPD
Дверь откатная для камер с регулируемой газовой средой серии RGS
Дверь откатная для охлаждаемых помещений серии IDS
Дверь подъемная вертикальная для охлаждаемых помещений серии IDV
Дверь промышленная распашная двустворчатая для охлаждаемых помещений серии IDH2-1
Дверь промышленная распашная для охлаждаемых помещений серии IDH1-1
Дверь распашная одностворчатая PromStandart
Дверь технологическая двустворчатая серии FD2H
Дверь технологическая одностворчатая серии FDH
Клапан вентиляционный для овощехранилищ серии VV
Комплект холодильной камеры DoorHan серии RC-PP
Люк технологический для охлаждаемых помещений серии IDT
Рольставни и рольворота
Калитка в алюминиевой раме с роллетным профилем
Рольворота из решетчатого экструдированного профиля RHE78G с прозрачными вставками
Рольворота из стального профиля (взломоустойчивые) RHS75, RHS75P
Рольставни PREMIUM для оконных проемов (взломоустойчивые) из экструдированного профиля RHE45
Рольставни витринные (взломоустойчивые) из одностенного экструдированного профиля RHE56M / RHE56GM
Рольставни витринные (взломоустойчивые) из стального профиля RHS52
Рольставни витринные (взломоустойчивые) из экструдированного профиля RHE58M
Рольставни витринные из пенозаполненного профиля RH58N
Рольставни витринные из пенозаполненного профиля перфорированного RH58PN
Рольставни для оконных проемов (взломоустойчивые) из экструдированного профиля RHE45M
Рольставни для оконных проемов (энергосберегающие) из пенозаполненного профиля RH41N, RH45N
Рольставни из перфорированного профиля (частичное пропускание света) RH45PN
Уличные и гаражные рольворота из одностенного экструдированного профиля RHE84M / RHE84GM
Уличные и гаражные рольворота из пенозаполненного профиля RH77M
Рулонные ворота из стальных профилей
Рулонные ворота из стальных профилей (взломоустойчивые) RHS117, RHS117P с вальным электроприводом
Рулонные ворота из стальных профилей (взломоустойчивые) RHS117/08, RHS117P/08 с внутривальным электроприводом
Складское оборудование
Перегрузочное оборудование
Пленочные завесы и ворота
Скоростные рулонные ворота
Скоростные спиральные ворота
Стальные двери
Двери бытовые
Двери модели "Ультра"
Двери технические и противопожарные
Системы ограждений из сварной сетки
Заборные секции из сварной сетки
Уличные ворота из сварной сетки
Калитки из сварной сетки
Заборные секции из штакетника
Акустические экраны
Акустические экраны
Грязезащитные экраны
Калитка распашная в шумозащитном исполнении
Производственные шумозащитные конструкции
Распашные ворота в шумозащитном исполнении
Технологические шумозащитные конструкции
Алюминиевые системы
Балконная система DH-BS40
Зенитный фонарь
Интерьерные перегородки DH-LP38
Кровельные системы по технологии промышленного фальца DH-RS
Оконно-дверная система без терморазрыва DH-DW45
Оконно-дверная система с терморазрывом DH-DW64
Фасадная стоечно-ригельная система DH-F50
Автоматика DoorHan
Приводы для бытовых секционных ворот
Приводы для промышленных секционных ворот
Приводы для распашных ворот
Приводы для откатных ворот
Шлагбаумы
Антивандальные шлагбаумы
Цепные барьеры и болларды
Приводы для распашных дверей
Приводы для окон
Аксессуары
Болларды
Автоматика для рольворот и роллет
Блоки управления
Внутривальные приводы постоянного тока с высокой интенсивностью серии DCM
Внутривальные роллетные приводы серии RS
Привод для рольворот навального типа серии SHAFT
Ангарные ворота
Ангарные ворота по индивидуальному проекту
Быстровозводимые здания
Модульные конструкции
Каркасные здания
Домокомплект EFFECT
Минеральная вата
Теплоизоляция для частного дома и квартиры
Теплоизоляция для фасадов
Теплоизоляция для плоских кровель
Теплоизоляция для сэндвич-панелей
Звукоизоляция
Профилированный лист
Строительные сэндвич-панели
Сэндвич-панели с сердечником из минераловатных плит на основе базальтового связующего
Сэндвич-панели с сердечником из пенополиизоцианурата (PIR)
PIR-панели с мягкой облицовкой (PIR-плита)
Остановочные павильоны, навесы и МАФы
Остановочные павильоны серии "Сити"
Остановочные павильоны серии "Регион стандарт"
Навесы
Лайт-боксы
Автоматические раздвижные двери
Двустворчатые раздвижные двери
Телескопические раздвижные двери
Раздвижные двери Антипаника
Одностворчатые раздвижные двери
Гаражи
Гараж EFFECT GARAGE 36
Горячее цинкование металлоконструкций
Горячее цинкование крупногабаритных металлоконструкций
Алюминиевый прокат и окрашивание оцинкованного проката
Алюминиевый холоднокатаный прокат
Алюминиевый холоднокатаный прокат с полимерным покрытием
Нанесение полимерных покрытий на оцинкованный прокат
Большой выбор моделей для любых объектов
Перекрытие больших проёмов, высокая интенсивность работы, сохранение обзора и многое другое.
Долгосрочная работа без сбоев
Изделия DoorHan созданы для интенсивной эксплуатации и обладают высокой устойчивостью к коррозии.
собственное производство
Полный цикл производства всех конструктивных элементов на собственном заводе в Ташкенте.
Высокие энерго-сберегающие и термо-изоляционные свойства
Изделия DoorHan предусматривают высокую теплоизоляцию помещения и обладают энерго-сберегающими свойствами.
Большой выбор моделей для любых объектов
Перекрытие больших проёмов, высокая интенсивность работы, сохранение обзора и многое другое.
Долгосрочная работа без сбоев
Изделия DoorHan созданы для интенсивной эксплуатации и обладают высокой устойчивостью к коррозии.
собственное производство
Полный цикл производства всех конструктивных элементов на собственном заводе в Ташкенте.
Высокие энерго-сберегающие и термо-изоляционные свойства
Изделия DoorHan предусматривают высокую теплоизоляцию помещения и обладают энерго-сберегающими свойствами.
Оформить заказ
Менеджеры компании ответят на все
вопросы по телефону:
ПЕРЕЗВОНИМ
Люди ищут
ворота рулонные уличные
боллард
шлагбаум для школы
мотор для откатных ворот
рольставни внутренние
ворота из сэндвич панелей
штора противопожарная автоматическая
купить калитку
противопожарные секционные ворота
комплектующие для секционных ворот
распашные ворота
привод для окон
ворота со створками
откатные ворота для частного дома
ворота для дачи
промышленные автоматические ворота
гаражные ворота с дверью
ворота для ангара
ворота подъемные
рольворота